授权公布号:CN210013610U
隐藏式可调力闭门器
有效
申请
2019-03-26
申请公布
1970-01-01
授权
2020-02-04
预估到期
2029-03-26
| 申请号 | CN201920394014.4 |
| 申请日 | 2019-03-26 |
| 授权公布号 | CN210013610U |
| 授权公告日 | 2020-02-04 |
| 分类号 | E05F15/50 |
| 分类 | 锁;钥匙;门窗零件;保险箱; |
| 申请人名称 | 瓯宝安防科技股份有限公司 |
| 申请人地址 | 浙江省丽水市莲都区碧湖镇碧兴街809号 |
专利法律状态
2020-02-04
授权
状态信息
授权
摘要
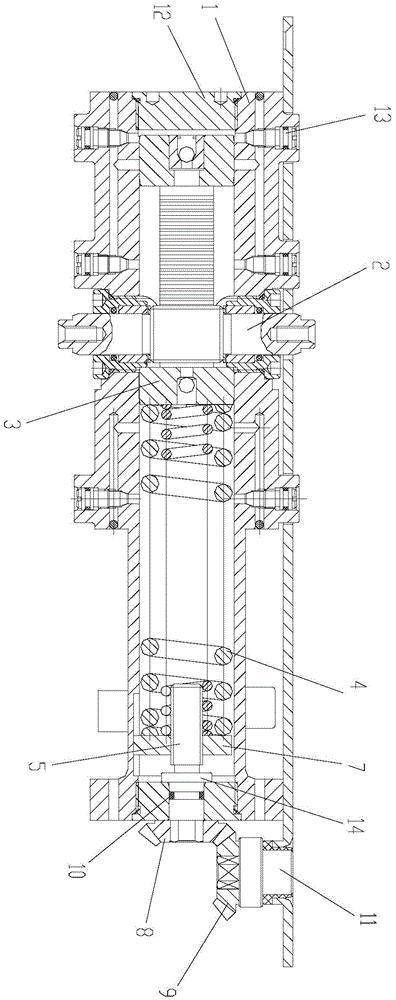
一种隐藏式可调力闭门器,包括闭门器主体,闭门器主体内设置有齿轴,齿轴的一侧连接有活塞,活塞上设置有弹簧,弹簧上设置有调力螺栓,弹簧的一端连接有活塞,弹簧的另一端连接有可调缸盖,调力螺栓设置在可调缸盖上,调力螺栓上设置有锥齿轮一,闭门器主体上设置有锥齿轮二,锥齿轮一和锥齿轮二啮合。本实用新型有益的效果是:使用时可通过调力螺栓调节弹簧力度,使齿轴转动力度增加或减小,使闭门器能够按照实际工况需求满足力度使用要求,能够实现自适应的效果,长期使用就只需调力螺栓调节即可满足重新使用要求,无需更换,使用方便,成本低,使用效果好。


