授权公布号:CN216893954U
新式两阀三速闭门器
有效
申请
2021-06-11
申请公布
1970-01-01
授权
2022-07-05
预估到期
2031-06-11
| 申请号 | CN202121318553.3 |
| 申请日 | 2021-06-11 |
| 授权公布号 | CN216893954U |
| 授权公告日 | 2022-07-05 |
| 分类号 | E05F3/08;E05F3/12 |
| 分类 | 锁;钥匙;门窗零件;保险箱; |
| 申请人名称 | 瓯宝安防科技股份有限公司 |
| 申请人地址 | 浙江省丽水市莲都区碧湖镇碧兴街809号 |
专利法律状态
2022-07-05
授权
状态信息
授权
摘要
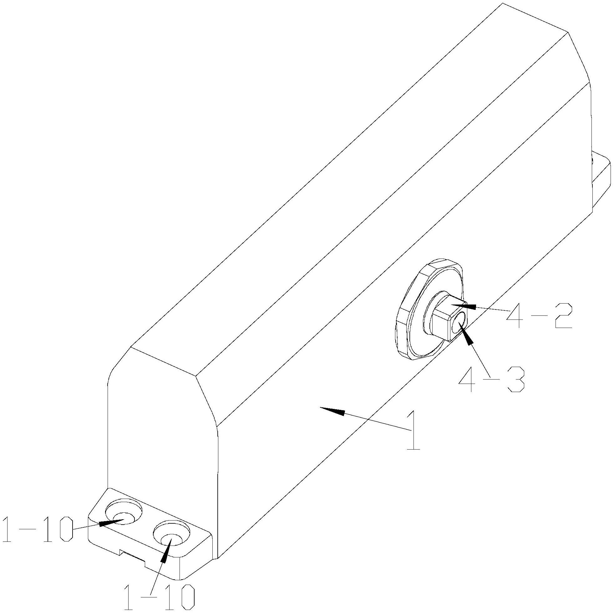
本实用新型公开了一种新式两阀三速闭门器,包括壳体,壳体内设有缸孔,缸孔内间设有活塞柱,活塞柱上开有盲孔,活塞盲孔端设有单向阀孔,壳体上设有锁门速度调节阀孔,壳体上设有关门速度调节阀孔,锁门速度调节阀孔处设有锁门速度调节阀,关门速度调节阀孔处设关门速度调节阀,锁门速度调节阀孔与缸孔之间设有第一回油横孔、第二回油横孔及第三回油横孔,关门速度调节阀孔与缸孔之间开有第一速度回油横孔,活塞柱上设有第一封堵部,活塞柱上设有第二封堵部,关门速度调节孔的底端与缸孔外端之间连通有纵向连通通道。本实用新型可以有效避免锁门角度过大速度过快出现撞门,也可以有效解决锁门速度过慢,锁不上门的问题,值得推广应用。


