授权公布号:CN215237694U
一种气缸套离心铸造内模具表面涂料清理装置
有效
申请
2021-05-19
申请公布
1970-01-01
授权
2021-12-21
预估到期
2031-05-19
| 申请号 | CN202121066463.X |
| 申请日 | 2021-05-19 |
| 授权公布号 | CN215237694U |
| 授权公告日 | 2021-12-21 |
| 分类号 | B22D13/10 |
| 分类 | 铸造;粉末冶金; |
| 申请人名称 | 洛阳百成内燃机配件有限公司 |
| 申请人地址 | 河南省洛阳市孟津县华阳产业集聚区 |
专利法律状态
2021-12-21
授权
状态信息
授权
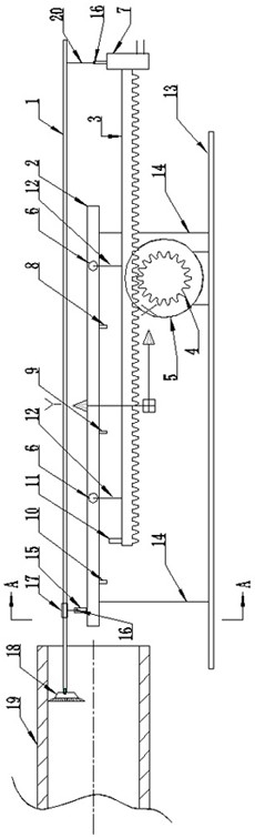
摘要
本实用新型属于气缸套加工技术领域,提出一种气缸套离心铸造内模具表面涂料清理装置。提出的一种气缸套离心铸造内模具表面涂料清理装置具有用以对气缸套离心铸造内模具的内表面进行清理的刷子;刷子固定在清理杆的端头;对应清理杆设置有驱动机构;驱动机构包括有调速电机、连接在调速电机输出端的齿轮以及与齿轮相啮合的齿条;齿条悬挂在导轨的下方;齿条的左端前侧上部焊接有用以与刷子产生感应的铁质感应块;齿条为在调速电机作用下带动铁质感应块左右移动的结构;导轨固定在底板上;齿条的右端连接有伸缩气缸;伸缩气缸的伸缩杆竖直设置,并连接在清理杆的右端。本实用新型大幅提高了清理效率和清理质量,并减小了气缸套毛坯的质量损失。


