授权公布号:CN217005624U
一种气缸套壁厚差检测装置
有效
申请
2022-04-13
申请公布
1970-01-01
授权
2022-07-19
预估到期
2032-04-13
| 申请号 | CN202220839786.6 |
| 申请日 | 2022-04-13 |
| 授权公布号 | CN217005624U |
| 授权公告日 | 2022-07-19 |
| 分类号 | G01B5/06 |
| 分类 | 测量;测试; |
| 申请人名称 | 洛阳百成内燃机配件有限公司 |
| 申请人地址 | 河南省洛阳市孟津县华阳产业集聚区 |
专利法律状态
2022-07-19
授权
状态信息
授权
摘要
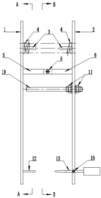
本实用新型属于气缸套技术领域,提出一种气缸套壁厚差检测装置。提出的气缸套壁厚差检测装置有两个测量臂:内测量臂和外测量臂;内测量臂和外测量臂平行设置;所述的内测量臂、外测量臂之间铰接连接,并可相对铰接点转动;内测量臂、外测量臂的上部均安装有压缩弹簧;内测量臂的下部设置两个固定测头;外测量臂下部安装百分表;外测量臂上安装可调节长度的螺柱;所述螺柱的一端通过螺母固定在所述的外测量臂上,另一端悬空设置,且螺柱的悬空端与所述的内测量臂之间具有间隙。本实用新型具有可随处携带、使用简便、全程测量的特点,达到了随时随地地全程测量气缸套壁厚差的目的,并为发动机气缸套使用寿命和使用性能提供了制造依据。


