授权公布号:CN218926181U
一种气缸套离心铸造外模具
有效
申请
2022-12-20
申请公布
1970-01-01
授权
2023-04-28
预估到期
2032-12-20
| 申请号 | CN202223407662.X |
| 申请日 | 2022-12-20 |
| 授权公布号 | CN218926181U |
| 授权公告日 | 2023-04-28 |
| 分类号 | B22D13/06;B22D13/10 |
| 分类 | 铸造;粉末冶金; |
| 申请人名称 | 洛阳百成内燃机配件有限公司 |
| 申请人地址 | 河南省洛阳市孟津县华阳产业集聚区 |
专利法律状态
2023-04-28
授权
状态信息
授权
摘要
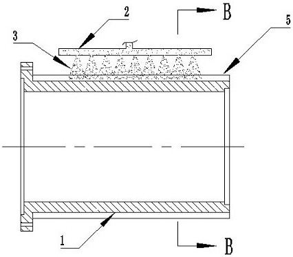
本实用新型属于气缸套铸造技术领域,主要提出一种气缸套离心铸造外模具。提出的一种气缸套离心铸造外模具,外模具的外圆设置沿圆周均布的多个挡水板,每个挡水板与模具外圆的径向切线夹角为30~45°且开口方向与模具外圆的旋转方向相反,挡水板的长度和模具外圆的长度一致,径向高度为20~40mm;挡水板与模具外圆的切线所具有的斜角形成存水湾。本实用新型使得喷洒至旋转的模具外圆上的冷却水可以存储在挡板与模具外圆形成的存水湾中直至挡板旋转至角度成水平状态,由此冷却水对模具的冷却角度可达到140°左右,避免了如传统模具上冷却水被离心力快速甩出仅有5~10°冷却角度的现象,从而有效提高了气缸套毛坯铸造质量,并达到了降低生产成本、节能降耗的良好效果。


