授权公布号:CN114482716B
一种安全逃生电子门锁
有效
申请
2022-01-30
申请公布
2022-05-13
授权
2023-08-01
预估到期
2042-01-30
| 申请号 | CN202210116240.2 |
| 申请日 | 2022-01-30 |
| 申请公布号 | CN114482716A |
| 申请公布日 | 2022-05-13 |
| 授权公布号 | CN114482716B |
| 授权公告日 | 2023-08-01 |
| 分类号 | E05B63/14;E05B15/00 |
| 分类 | 锁;钥匙;门窗零件;保险箱; |
| 申请人名称 | 中山市皇鼎五金制品有限公司 |
| 申请人地址 | 广东省中山市三角镇新华路8号之二 |
专利法律状态
2023-10-27
专利申请权、专利权的转移
状态信息
专利权的转移;IPC(主分类):E05B 63/14;专利号:ZL2022101162402;登记生效日:20231010;变更事项:专利权人;变更前权利人:中山市皇鼎五金制品有限公司;变更后权利人:中山市皇鼎科技有限公司;变更事项:地址;变更前权利人:528445 广东省中山市三角镇新华路8号;变更后权利人:528400 广东省中山市三角镇新华路8号之二
2023-08-01
授权
状态信息
授权
2022-05-31
实质审查的生效
状态信息
实质审查的生效;IPC(主分类):E05B63/14;申请日:20220130
2022-05-13
公布
状态信息
公布
摘要
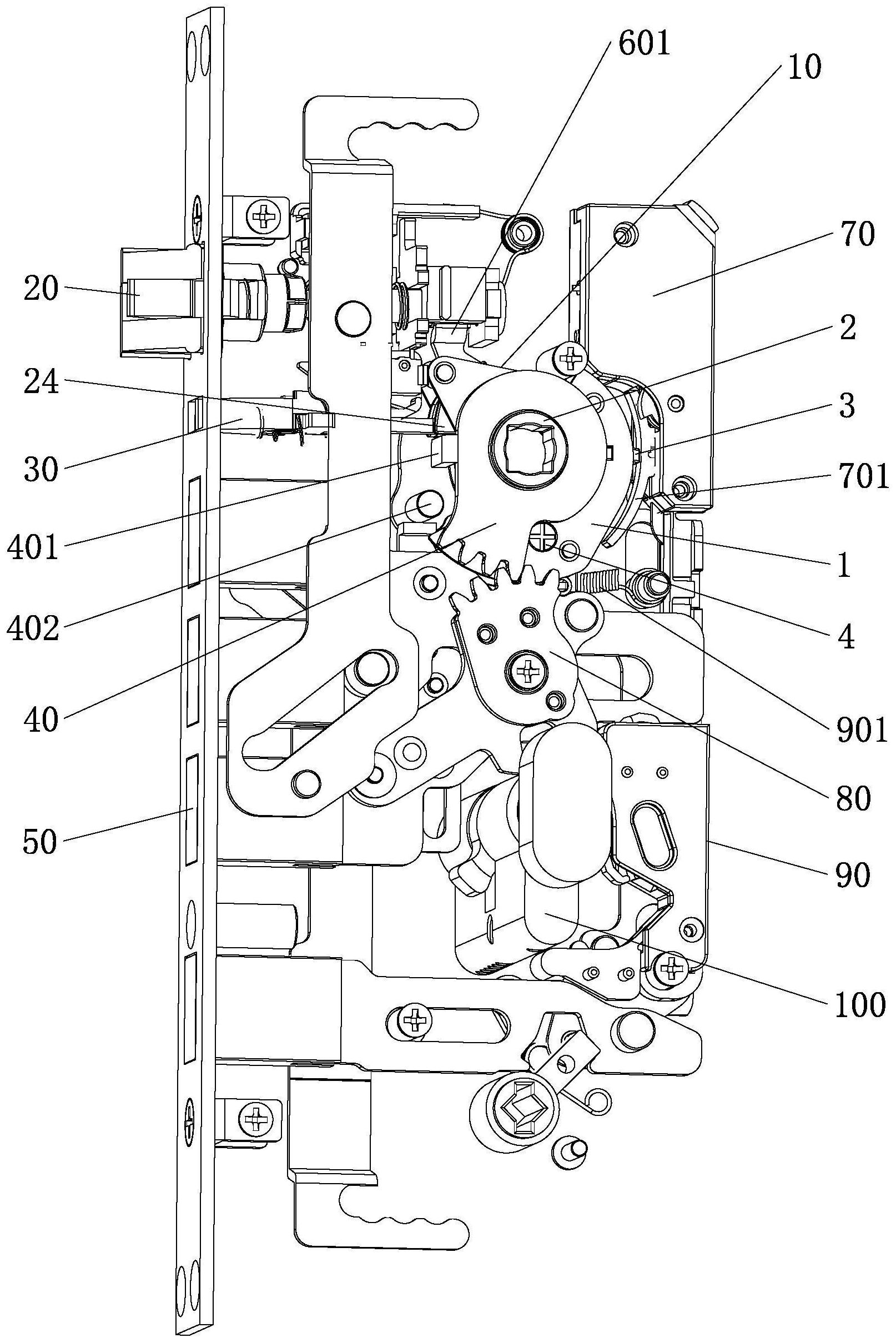
本发明公开一种安全逃生电子门锁,其包括锁体,锁体上设有斜舌组件、方舌组件、拨叉机构、离合驱动器、锁芯和控制电路;拨叉机构包括门内转子、门外转子、用于安装转子的壳体组件、将门外转子与壳体组件传动连接的离合块,门内转子和门外转子分别独立与壳体组件转动配合,离合块活动设置在两个转子的外侧旁、并由离合驱动器驱动,壳体组件设有用于解锁斜舌组件和方舌组件的开锁传动部,门内转子设有第一壳体传动部和第一上锁传动部,第一壳体传动部用于带动所述壳体组件运动,第一上锁传动部用于驱动方舌组件伸出。该结构的门内转子不与门外转子联动,门内可以随时转动门内转子开锁,实现安全逃生的功能。


