授权公布号:CN212758494U
一种用于锡膏生产搅拌装置
有效
申请
2020-07-09
申请公布
1970-01-01
授权
2021-03-23
预估到期
2030-07-09
| 申请号 | CN202021340567.0 |
| 申请日 | 2020-07-09 |
| 授权公布号 | CN212758494U |
| 授权公告日 | 2021-03-23 |
| 分类号 | B01F15/06;B01D53/78;B01F13/04 |
| 分类 | 一般的物理或化学的方法或装置; |
| 申请人名称 | 确信爱法金属(深圳)有限公司 |
| 申请人地址 | 广东省深圳市宝安区松岗街道塘下涌社区 |
专利法律状态
2021-03-23
授权
状态信息
授权
摘要
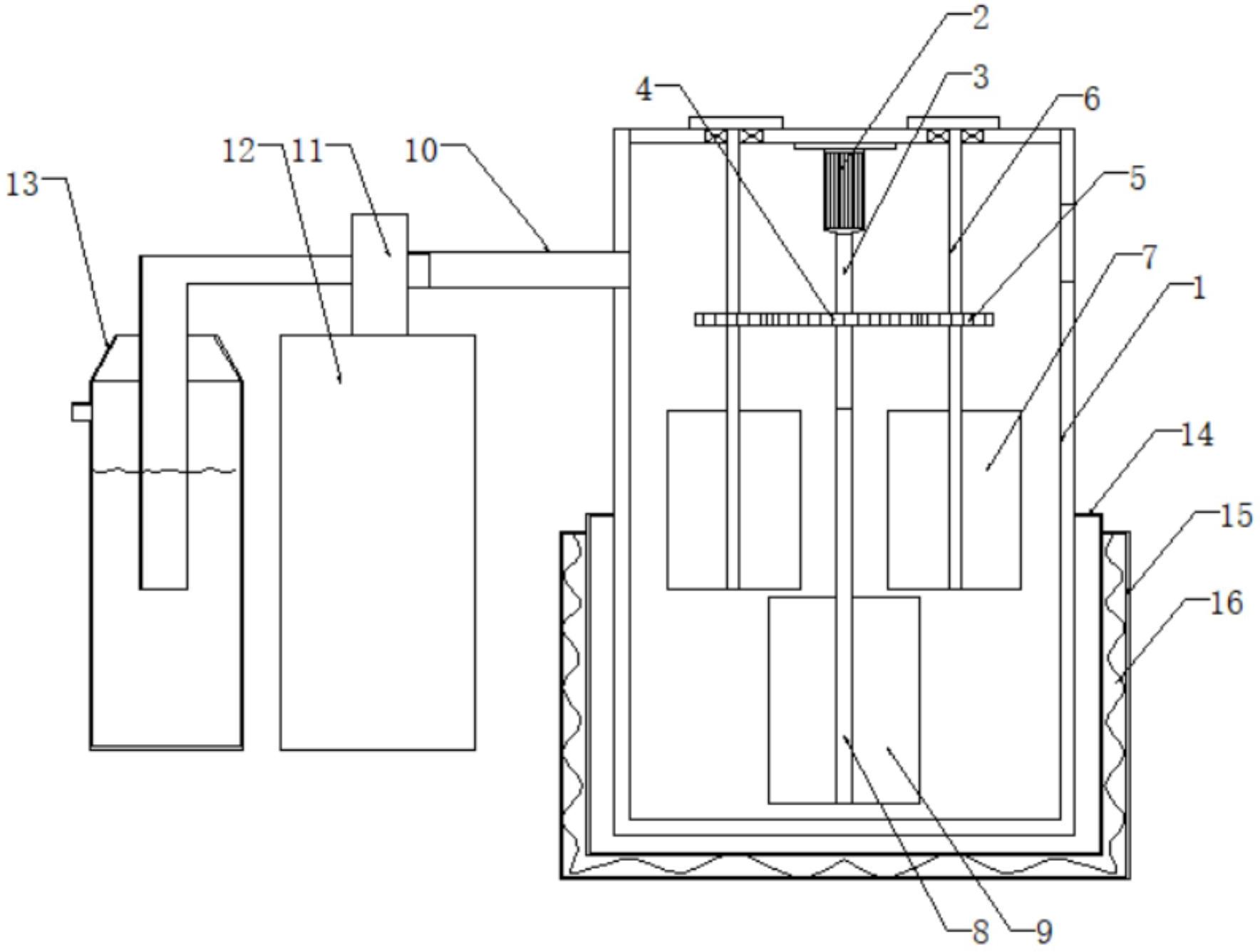
本实用新型公开了一种用于锡膏生产搅拌装置,包括主体,主体内壁顶部的中心通过电机底座固定连接有电机,电机的输出端传动连接有传动轴,传动轴的中部固定设置有第一齿轮,第一齿轮的两侧分别与两个第二齿轮的一侧啮合连接,第二齿轮固定设置于第二搅拌轴的中部,两个第二搅拌轴的顶部分别穿过主体的顶部与两个转动圆盘的底部固定连接,第二搅拌轴的底部与第二搅拌页的顶部固定连接,本实用新型一种用于锡膏生产搅拌装置,本装置可以先将加热箱中的水进行加热,再用热水对主体中的锡膏进行加热,防止锡膏由于加热不均匀而发生溅射,用一个电机带动三个搅拌轴,节省了电能的损耗,能够处理锡膏加热挥发的有毒气体,保护工作人员的身体健康。


