授权公布号:CN211552256U
一种焊条烘干用固定架
有效
申请
2019-11-16
申请公布
1970-01-01
授权
2020-09-22
预估到期
2029-11-16
| 申请号 | CN201921979879.3 |
| 申请日 | 2019-11-16 |
| 授权公布号 | CN211552256U |
| 授权公告日 | 2020-09-22 |
| 分类号 | F26B9/06;F26B25/06 |
| 分类 | 干燥; |
| 申请人名称 | 金华市三环焊接材料有限公司 |
| 申请人地址 | 浙江省金华市婺城区宾虹西路251号 |
专利法律状态
2020-09-22
授权
状态信息
授权
摘要
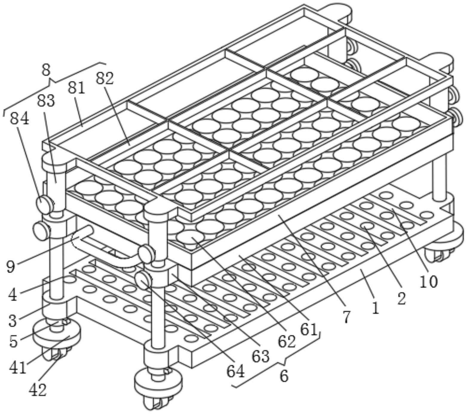
本实用新型公开了一种焊条烘干用固定架,包括底板,所述底板的上表面设有均匀分布的定位槽,所述底板的侧面设有四个均匀分布的限位环,限位环的内部活动穿插有螺杆,螺杆的侧面下端螺纹连接有与限位环下表面接触的螺母,螺杆的侧面滑动设有沿其上下移动的导向架;导向架包括矩形板,矩形板的上表面设有与定位槽对应设置的锥形孔,矩形板的侧面设有滑动设置在螺杆侧面的调节环,调节环侧面的螺孔内部螺纹连接有紧固螺栓,矩形板的上表面边缘设有限位框架。该焊条烘干用固定架,可以对焊条进行分开摆放,能够避免焊条堆积,可以增大焊条与空气的接触面积,从而缩短烘干时间,提高烘干效率,使用方便。


