授权公布号:CN114198838B
一种焊膏车间局部平衡通风系统
有效
申请
2021-12-10
申请公布
2022-03-18
授权
2023-02-28
预估到期
2041-12-10
| 申请号 | CN202111507912.4 |
| 申请日 | 2021-12-10 |
| 申请公布号 | CN114198838A |
| 申请公布日 | 2022-03-18 |
| 授权公布号 | CN114198838B |
| 授权公告日 | 2023-02-28 |
| 分类号 | F24F7/003;F24F7/007;F24F6/12;F24F13/06 |
| 分类 | 供热;炉灶;通风; |
| 申请人名称 | 浙江亚通新材料股份有限公司 |
| 申请人地址 | 浙江省杭州市西湖区三墩工业园金蓬街372号 |
专利法律状态
2023-02-28
授权
状态信息
授权
2022-03-18
公布
状态信息
公布
摘要
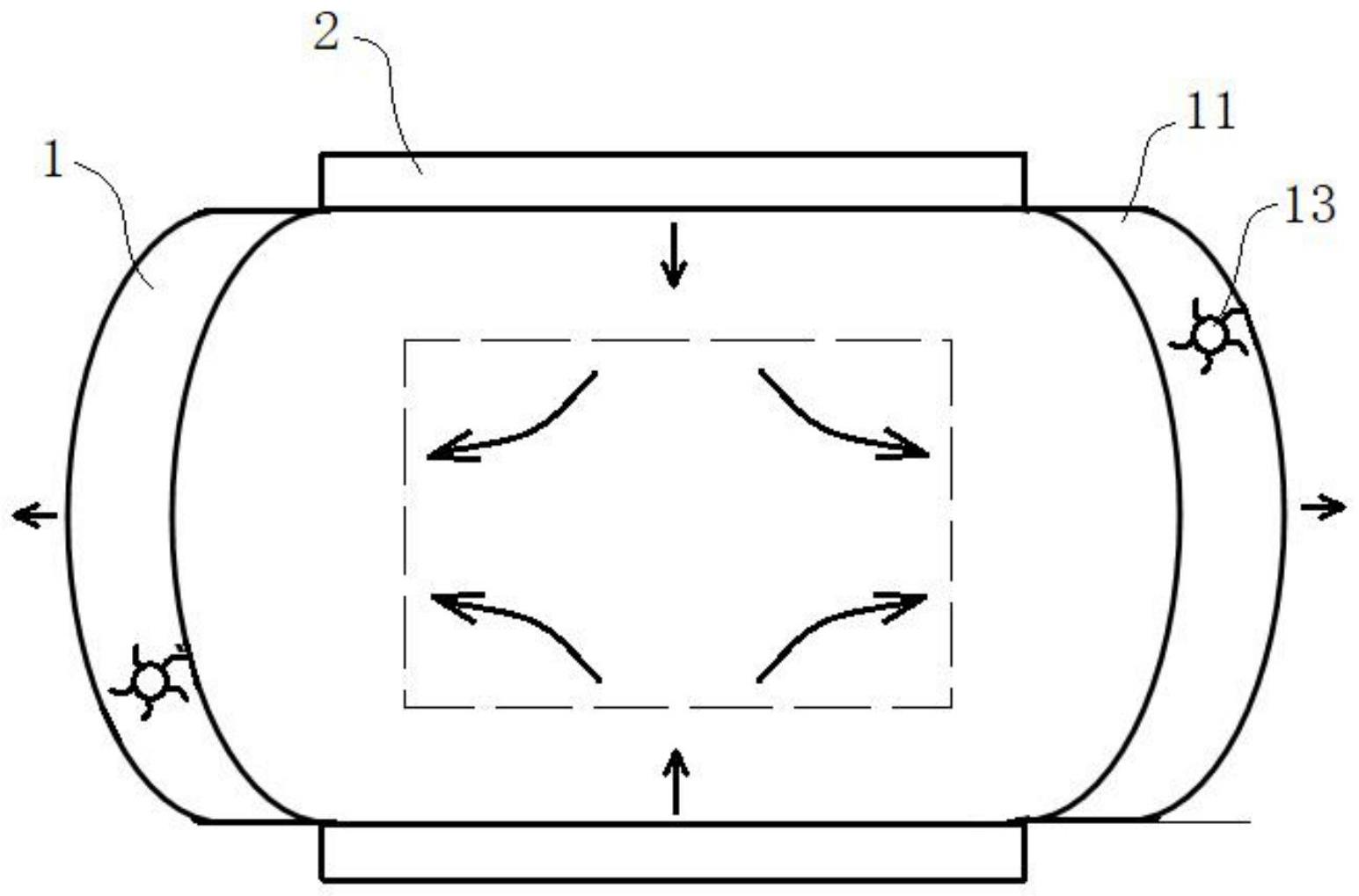
本发明公开了一种焊膏车间局部平衡通风系统,多个排风装置和多个进风装置交替布置且共同围成通风区域,排风装置朝向所述通风区域一侧具有弧形导风面,排风装置内设有与所述弧形导风面配合的弧形排风腔,所述弧形导风面上设有与所述弧形排风腔连通的进风口,所述弧形排风腔一端设有排风口,所述排风口处设有排风机。通过上述优化设计的焊膏车间局部平衡通风系统,通过多个排风装置和多个进风装置围合形成局部通风区域,从而对车间局部调控,便于对现有车间进行改造,从而通过进风装置和排风装置的合理布置,避免通风气流产生过大扰动,对焊膏生成质量造成影响。


