授权公布号:CN109595341B
一种具有减震功能的双层动密封装置
有效
申请
2018-12-30
申请公布
2019-04-09
授权
2024-02-06
预估到期
2038-12-30
| 申请号 | CN201811643701.1 |
| 申请日 | 2018-12-30 |
| 申请公布号 | CN109595341A |
| 申请公布日 | 2019-04-09 |
| 授权公布号 | CN109595341B |
| 授权公告日 | 2024-02-06 |
| 分类号 | F16J15/16;F16F15/04 |
| 分类 | 工程元件或部件;为产生和保持机器或设备的有效运行的一般措施;一般绝热; |
| 申请人名称 | 浙江亚通新材料股份有限公司 |
| 申请人地址 | 浙江省杭州市西湖区三墩工业园金蓬街372号 |
专利法律状态
2024-02-06
授权
状态信息
授权
2022-12-20
著录事项变更
状态信息
著录事项变更;IPC(主分类):F16J15/16;变更事项:申请人;变更前:浙江亚通焊材有限公司;变更后:浙江亚通新材料股份有限公司;变更事项:地址;变更前:310030 浙江省杭州市西湖区三墩工业园金蓬街372号;变更后:310030 浙江省杭州市西湖区三墩工业园金蓬街372号
2019-05-03
实质审查的生效
状态信息
实质审查的生效;IPC(主分类):F16J15/16;申请日:20181230
2019-04-09
公布
状态信息
公布
摘要
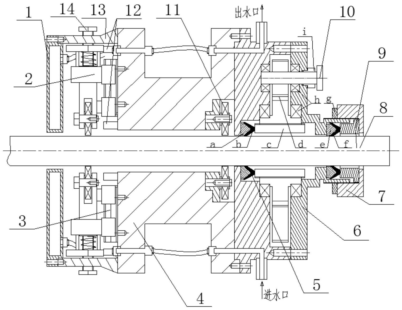
本发明涉及一种具有减震功能的双层动密封装置。现有的动密封采用刚性机构支撑,产生的巨大噪音,对环境产生不利影响。另外,现有的动密封大都采用单层密封结构,导致生产效率低下。本发明包括主固定圆轴套,其特征在于所述的主固定圆轴套的前端设置前减震轴承支撑机构,主固定圆轴套后端固定有双层密封结构,所述的双层密封结构包括内层密封机构和外层密封机构,所述的内层密封机构和外层密封机构分别能通过调整机构调整其单独的密封性。本发明解决了因密封圈磨损导致的不能连续进料、反复抽真空生产效率低下的问题。


