授权公布号:CN208856680U
一种具有断丝安全保护功能的绕线装置
有效
申请
2018-09-07
申请公布
1970-01-01
授权
2019-05-14
预估到期
2028-09-07
| 申请号 | CN201821464292.4 |
| 申请日 | 2018-09-07 |
| 授权公布号 | CN208856680U |
| 授权公告日 | 2019-05-14 |
| 分类号 | B65H63/024;B65H54/70 |
| 分类 | 输送;包装;贮存;搬运薄的或细丝状材料; |
| 申请人名称 | 杭州友邦焊锡材料有限公司 |
| 申请人地址 | 浙江省杭州市余杭区良渚街道良运街317号 |
专利法律状态
2019-05-14
授权
状态信息
授权
摘要
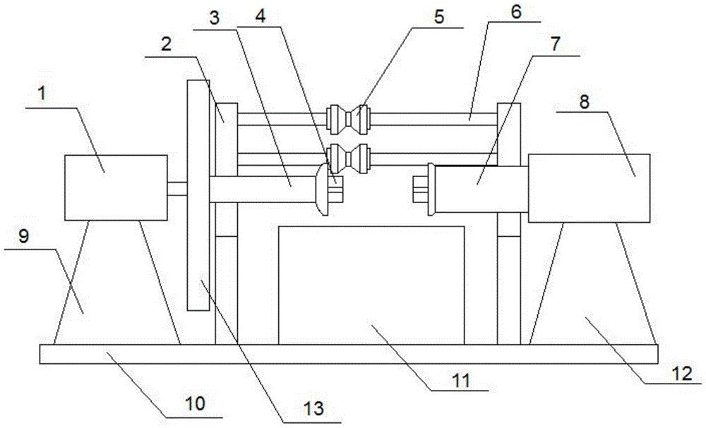
本实用新型公开了一种具有断丝安全保护功能的绕线装置,包括底板和安装在底板上的绕线机构,所述绕线机构包括电机、气缸、旋转轴和伸缩轴,所述电机的动力输出端与旋转轴的一端固定连接,所述气缸的动力输出端与伸缩轴的一端固定连接,所述旋转轴与伸缩轴的轴心线重合,所述旋转轴与伸缩轴的另一端设有相配合的安装端子。本实用新型有益效果在于,该发明装置结构简单,设计巧妙,可靠性高,可以有效避免丝尾乱甩的问题。该装置放置于绕线部下方,不会对操作造成任何不利影响。锡丝断丝时,不需人为干预,自动停机,且能避免丝尾乱甩的安全隐患。


