授权公布号:CN213674086U
一种锡棒料储存架
有效
申请
2020-11-16
申请公布
1970-01-01
授权
2021-07-13
预估到期
2030-11-16
| 申请号 | CN202022647951.1 |
| 申请日 | 2020-11-16 |
| 授权公布号 | CN213674086U |
| 授权公告日 | 2021-07-13 |
| 分类号 | B25H3/04 |
| 分类 | 手动工具;轻便机动工具;手动器械的手柄;车间设备;机械手; |
| 申请人名称 | 广东安臣锡品制造有限公司 |
| 申请人地址 | 广东省佛山市南海区狮山镇长虹岭工业园长虹路 |
专利法律状态
2021-07-13
授权
状态信息
授权
摘要
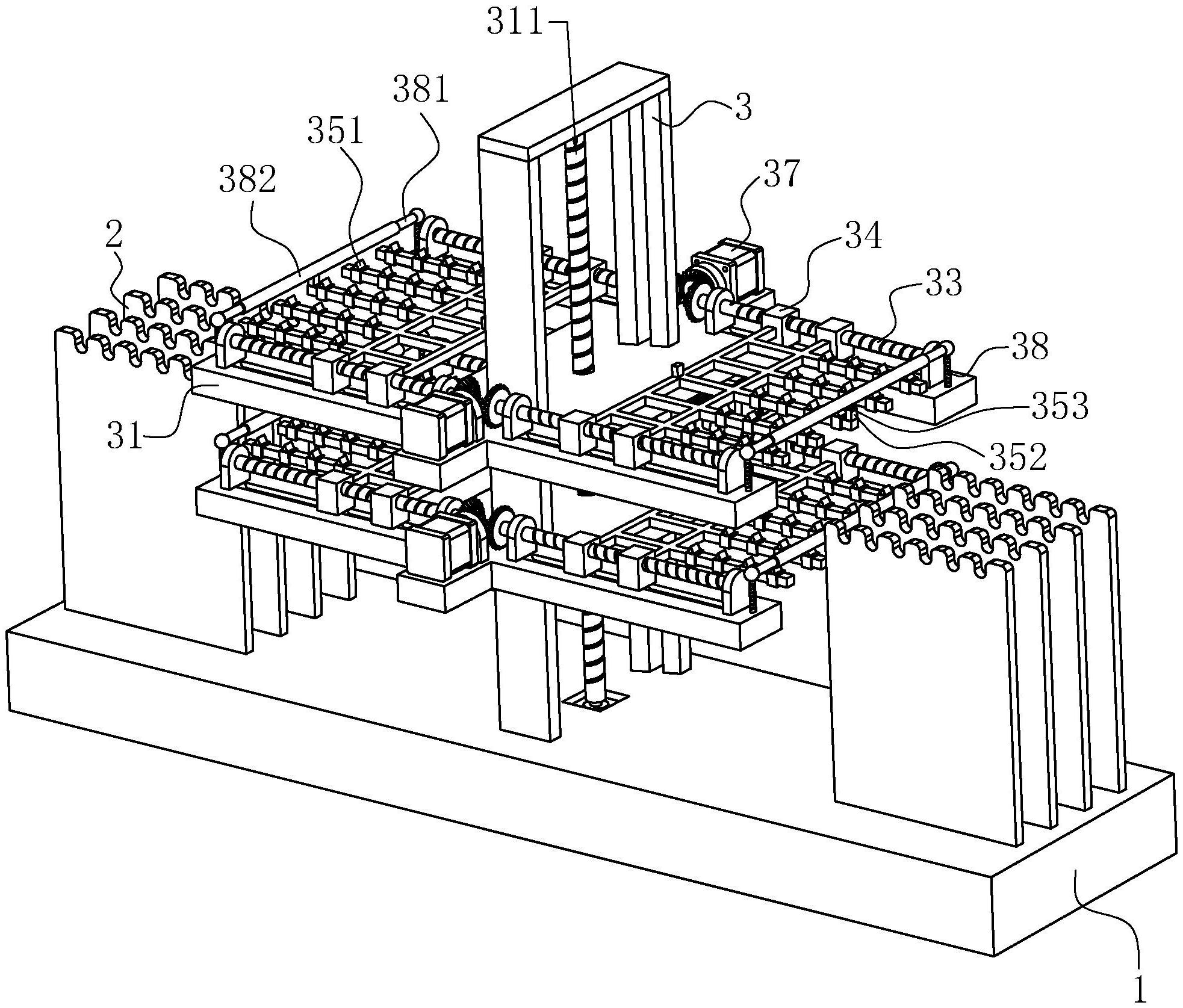
本申请涉及一种锡棒料储存架,属于储存架技术的领域,其包括设置于底座上的机架;设置于所述底座上靠近机架位置处的支撑架;设置于所述支撑架上用于收纳锡棒料的收料组件;设置于所述支撑架上用于驱动收料组件竖直运动的驱动组件。本申请具有减少锡棒料因相互受压而变形的效果。


