授权公布号:CN209452958U
一种手动助焊剂加液台
有效
申请
2018-12-05
申请公布
1970-01-01
授权
2019-10-01
预估到期
2028-12-05
| 申请号 | CN201822030622.5 |
| 申请日 | 2018-12-05 |
| 授权公布号 | CN209452958U |
| 授权公告日 | 2019-10-01 |
| 分类号 | B23K3/08;B23K3/06 |
| 分类 | 机床;不包含在其他类目中的金属加工; |
| 申请人名称 | 浙江新锐焊接科技股份有限公司 |
| 申请人地址 | 浙江省绍兴市嵊州市三界镇工业集聚区浙江新锐焊接科技股份有限公司 |
专利法律状态
2019-10-01
授权
状态信息
授权
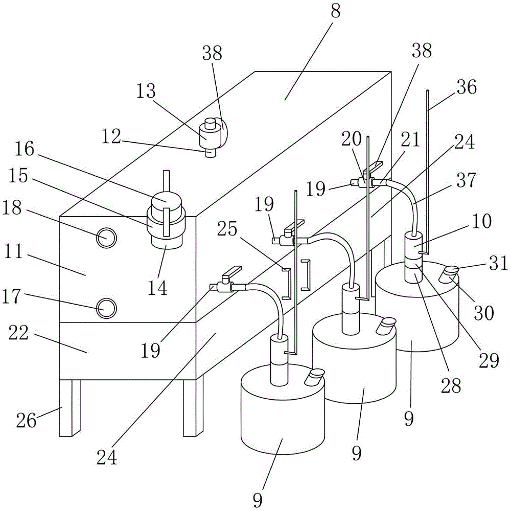
摘要
一种手动助焊剂加液台,属于焊接设备技术领域;通过第一拉杆式快速母接头连接外部加液管公接头,外部加液管路将助焊剂经注入口注入到主储液箱内,注入口的上端部向上倾斜使助焊剂快速流入主储液箱内的效果;高液位观察口和低液位观察口均在注入口一侧,方便日常以及灌装时进行观察;主储液箱前端面的下侧设有三个出液口,实现给三个储液罐同时灌装的效果;当储液罐内的助焊剂液位到达下通气管的下端时,助焊剂将下通气管下端的管口封堵,因上通气管的上管口与主储液箱的箱顶处于同一高度,使储液罐内的空气被封堵在储液罐内,实现储液罐内助焊剂加满时自动停止加液,液位控制头就是来实现这个功能的,应用了气压平衡原理。


