授权公布号:CN210598448U
一种把手离合结构及门锁
有效
申请
2019-06-03
申请公布
1970-01-01
授权
2020-05-22
预估到期
2029-06-03
| 申请号 | CN201920832127.8 |
| 申请日 | 2019-06-03 |
| 授权公布号 | CN210598448U |
| 授权公告日 | 2020-05-22 |
| 分类号 | E05B3/00;E05B15/00;E05B47/00 |
| 分类 | 锁;钥匙;门窗零件;保险箱; |
| 申请人名称 | 中山市杨格锁业有限公司 |
| 申请人地址 | 广东省中山市小榄镇绩东二宝安一路52号 |
专利法律状态
2020-05-22
授权
状态信息
授权
摘要
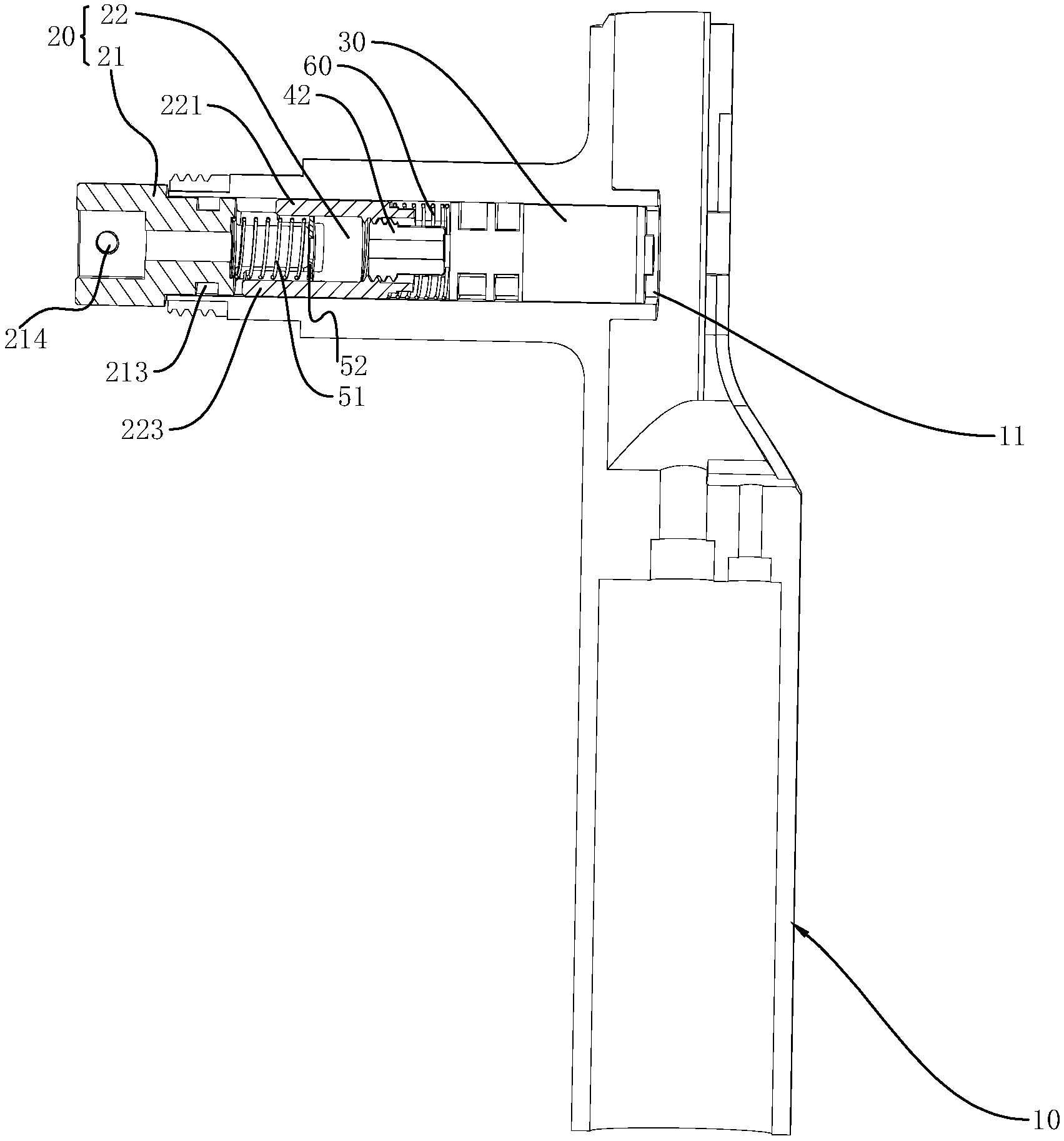
本实用新型公开了一种把手离合结构及门锁,门锁包括把手离合结构,把手离合结构包括把手、离合组件、驱动装置和控制装置,把手上设置有安装通道,离合组件包括转动座和离合块,转动座可转动地设置于把手上,离合块可滑动地设置于安装通道内,离合块上设置有第一传动部,转动座上设置有第一限位部;驱动装置安装于安装通道内,驱动装置可通过一螺纹传动结构推动离合块移动以使离合块上的第一传动部进入或离开第一限位部的转动范围,第一传动部进入第一限位部的转动范围时,转动座可跟随把手正向旋转以解锁锁舌装置,控制装置电性连接于驱动装置并可控制驱动装置转动。当垂直于门方向上的震动时,门锁不会错误的开锁或者关锁,轴向抗震动能力较强。


