授权公布号:CN208618946U
一种锁头滑盖
有效
申请
2018-05-18
申请公布
1970-01-01
授权
2019-03-19
预估到期
2028-05-18
| 申请号 | CN201820744790.8 |
| 申请日 | 2018-05-18 |
| 授权公布号 | CN208618946U |
| 授权公告日 | 2019-03-19 |
| 分类号 | E05B17/18 |
| 分类 | 锁;钥匙;门窗零件;保险箱; |
| 申请人名称 | 广东镖臣防盗设备有限公司 |
| 申请人地址 | 广东省中山市小榄镇埒西一广丰工业园广善路35号 |
专利法律状态
2019-10-29
专利申请权、专利权的转移
状态信息
专利权的转移;IPC(主分类):E05B 17/18;专利号:ZL2018207447908;登记生效日:20191009;变更事项:专利权人;变更前权利人:李浩远;变更后权利人:广东镖臣防盗设备有限公司;变更事项:地址;变更前权利人:528400 广东省中山市小榄镇埒西一广丰工业园广善路35号;变更后权利人:528400 广东省中山市小榄镇埒西一广丰工业园广善路35号
2019-03-19
实用新型专利权授予
状态信息
授权
摘要
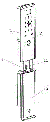
本实用新型涉及一种锁头滑盖,其包括面板框架,面板框架具有与锁头对应的锁头孔,面板框架上安装固定有控制面板,所述面板框架上可滑动设置有滑盖,滑盖与面板框架间设置有弹性保持装置,在弹性保持装置的作用下,滑盖将所述锁头孔罩住并与所述控制面板对接在一起,克服弹性保持装置的作用力,滑盖与所述控制面板分离使将所述锁头孔显露。本实用新型的优点在于,正常状态下,滑盖与控制面板对接在一起,将锁头孔罩住,减少小偷的可乘之机,当需要用钥匙打开锁时,只需要将滑盖滑动使其与控制面板分离使锁头孔显露出来即可开锁。


