授权公布号:CN212176426U
一种铝合金安装于地面与墙面之间的踢脚组件
有效
申请
2020-04-21
申请公布
1970-01-01
授权
2020-12-18
预估到期
2030-04-21
| 申请号 | CN202020608005.3 |
| 申请日 | 2020-04-21 |
| 授权公布号 | CN212176426U |
| 授权公告日 | 2020-12-18 |
| 分类号 | E04F19/04 |
| 分类 | 建筑物; |
| 申请人名称 | 浙江海创集成家居科技有限公司 |
| 申请人地址 | 浙江省嘉兴市海宁市黄湾镇仙侠路107号 |
专利法律状态
2024-01-23
专利申请权、专利权的转移
状态信息
专利权的转移;IPC(主分类):E04F19/04;登记生效日:20240108;变更事项:专利权人;变更前:浙江海创集成家居科技有限公司;变更后:浙江宜舍家居股份有限公司;变更事项:地址;变更前:314400 浙江省嘉兴市海宁市袁花镇谈桥工业园区内;变更后:314400 浙江省嘉兴市海宁市黄湾镇仙侠路107号
2020-12-18
授权
状态信息
授权
摘要
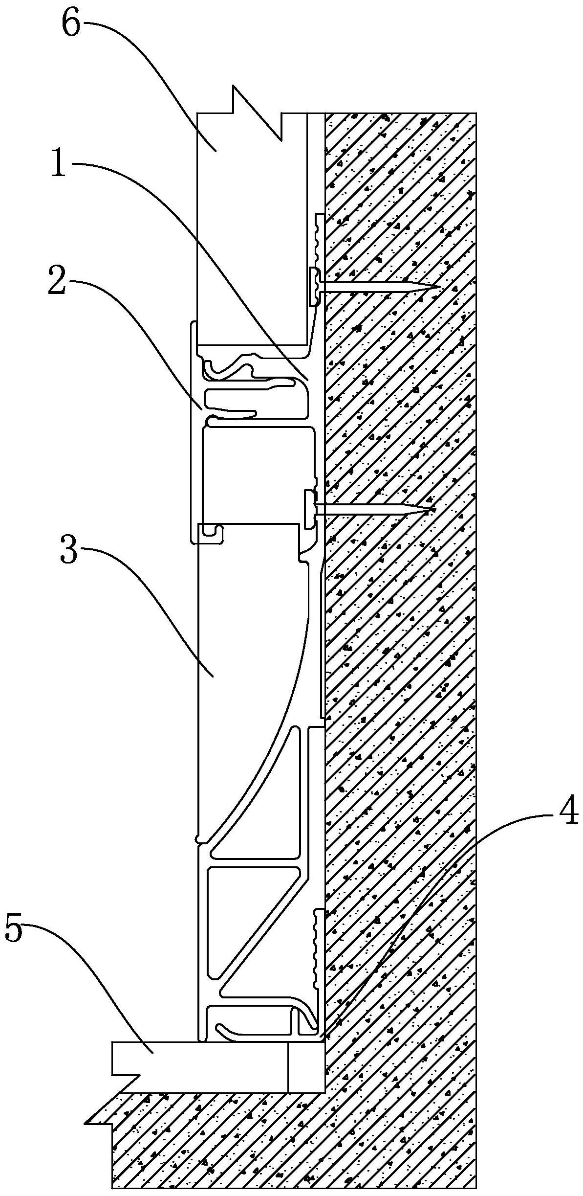
本实用新型提供了一种铝合金安装于地面与墙面之间的踢脚组件,属于技术墙板设计领域。它解决了现有技术中的问题。本铝合金安装于地面与墙面之间的踢脚组件,铝合金安装于竖直的墙面和水平的地面之间,本踢脚组件包括底座和与底座配合连接的灯槽,底座包括竖直状的本体,本体的上部固定有与其垂直设置的卡口上唇和卡口下唇,卡口上唇的上方和卡口下唇的下方均具有能够将其固定到墙面上的螺纹孔,卡口下唇的下方且位于螺纹孔的下方设置有导光弧。本实用新型具有维修穿线也很方便的优点。


