授权公布号:CN213204813U
土字型线
有效
申请
2020-09-01
申请公布
1970-01-01
授权
2021-05-14
预估到期
2030-09-01
| 申请号 | CN202021878757.8 |
| 申请日 | 2020-09-01 |
| 授权公布号 | CN213204813U |
| 授权公告日 | 2021-05-14 |
| 分类号 | E04F13/21 |
| 分类 | 建筑物; |
| 申请人名称 | 浙江海创集成家居科技有限公司 |
| 申请人地址 | 浙江省嘉兴市海宁市袁花镇谈桥工业园区内 |
专利法律状态
2021-05-14
授权
状态信息
授权
摘要
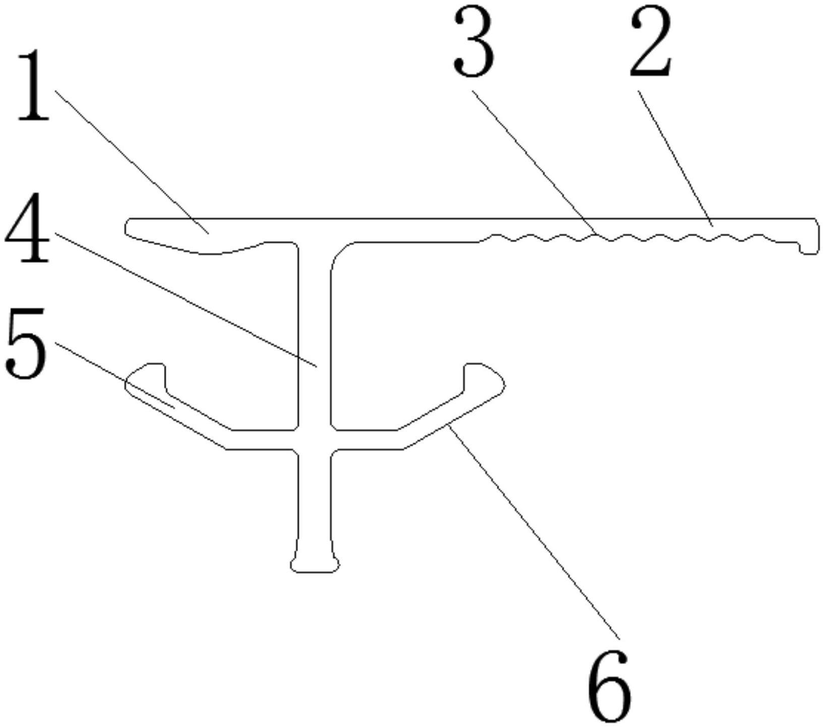
本实用新型公开了土字型线,包括底板和墙体,所述底板右端设置有钉位板,且钉位板外表面开设有槽位,所述底板下端固定有中位条,且中位条左侧安置有左翼条,所述中位条右侧设置有右翼条,且右翼条右方安置有墙板,所述墙板左侧开设有卡槽,所述钉位板外表面贯穿有固定钉。该土字型线设置有左翼条,左翼条关于中位条的竖直中心线与右翼条呈对称分布,有利于将卡槽卡进左翼条及右翼条进行墙板的固定,而左翼条及右翼条均呈弹性结构,方便其进行弹性形变,可以适用于双母槽墙板的安装以及常规空心墙板开端后的拼接,因为左翼条及右翼条呈倾斜结构,可在墙板安装后通过弹性对墙板进行紧固处理,并且可以适应墙板槽壁的误差,防止墙板的松动。


