授权公布号:CN213204789U
一种错层墙板结构
有效
申请
2020-07-20
申请公布
1970-01-01
授权
2021-05-14
预估到期
2030-07-20
| 申请号 | CN202021434589.3 |
| 申请日 | 2020-07-20 |
| 授权公布号 | CN213204789U |
| 授权公告日 | 2021-05-14 |
| 分类号 | E04F13/075;E04F13/076;E04F13/12;E04F13/22;F21S4/00;F21S8/02;F21Y115/10 |
| 分类 | 建筑物; |
| 申请人名称 | 浙江丽尚建材科技有限公司 |
| 申请人地址 | 浙江省嘉兴市海盐县武原街道武原工业园金星区一星路3号 |
专利法律状态
2021-05-14
授权
状态信息
授权
摘要
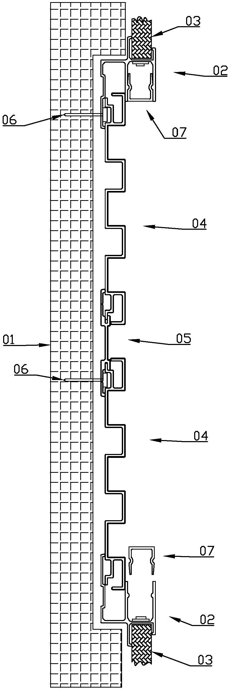
本实用新型公开一种错层墙板结构,其既能实现错层墙体上的护墙板的连接安装,也在墙板上只具有母槽,提高安装效率。一种错层墙板结构,表面错层的基础层,错层型材包括第一板体,第一板体的左表面凸出有第一卡槽,第一板体的右表面凸出有第二卡槽,第一卡槽与第二卡槽错层设置;第一卡槽和第二卡槽分别设置在基础层的错层位置;第一墙板插入第一卡槽,第二墙板插入第二卡槽内;第二墙板包括主板,主板的两侧开设有母槽,母槽包括弯折形成Z字形的插板,以及插板上延伸出与插板相对的压板,插板包括第二板体,第二板体向下延伸弯折形成平行于第二板体的第三板体,压板包括第二板体向上延伸弯折平行于第二板体的第四板体。


