授权公布号:CN213204809U
一种铝型材板
有效
申请
2020-07-20
申请公布
1970-01-01
授权
2021-05-14
预估到期
2030-07-20
| 申请号 | CN202021438001.1 |
| 申请日 | 2020-07-20 |
| 授权公布号 | CN213204809U |
| 授权公告日 | 2021-05-14 |
| 分类号 | E04F13/12;E04F13/076 |
| 分类 | 建筑物; |
| 申请人名称 | 浙江丽尚建材科技有限公司 |
| 申请人地址 | 浙江省嘉兴市海盐县武原街道武原工业园金星区一星路3号 |
专利法律状态
2021-05-14
授权
状态信息
授权
摘要
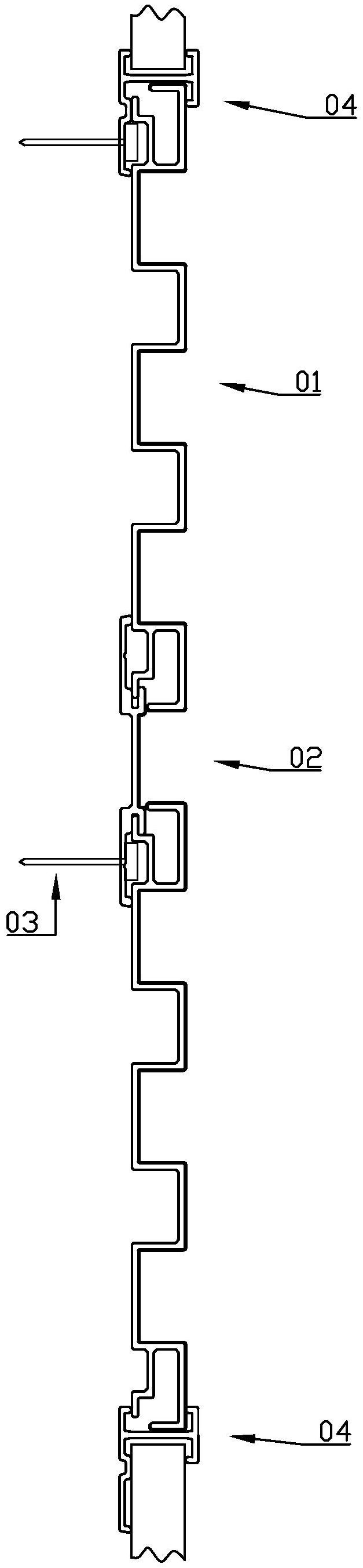
本实用新型公开一种铝型材板,其只具有母槽,提高安装效率。一种铝型材板,包括主板,主板的两端设有母槽,母槽包括弯折形成Z字形的插板,以及插板的上延伸出与插板相对的压板,插板包括第一板体,第一板体向下延伸弯折形成平行于第一板体的第二板体,压板包括第一板体向上延伸弯折平行于第一板体的第三板体,第三板体的边沿向下延伸弯折形成第四板体;两相邻的主板通过第一连接件相拼接组合;第一连接件包括第五板体,第五板体的两端设有卡槽,卡槽包括第五板体向上延伸弯折的第六板体,以及第五板体向下延伸弯折形成平行与第六板体的第七板体,第七板体向外延伸有固定板,固定板的上表面凹陷形成凹坑。


