授权公布号:CN213204778U
一种侧发光型材
有效
申请
2020-07-20
申请公布
1970-01-01
授权
2021-05-14
预估到期
2030-07-20
| 申请号 | CN202021434690.9 |
| 申请日 | 2020-07-20 |
| 授权公布号 | CN213204778U |
| 授权公告日 | 2021-05-14 |
| 分类号 | E04F13/074;E04F13/22;F21V33/00;F21V19/00;F21Y115/10 |
| 分类 | 建筑物; |
| 申请人名称 | 浙江丽尚建材科技有限公司 |
| 申请人地址 | 浙江省嘉兴市海盐县武原街道武原工业园金星区一星路3号 |
专利法律状态
2021-05-14
授权
状态信息
授权
摘要
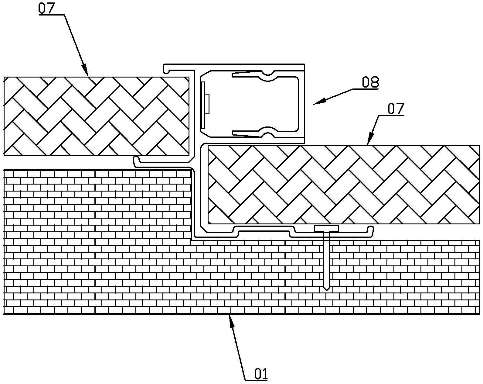
本实用新型公开一种侧发光型材,其既能实现错层墙体上的护墙板的连接安装,也可以安装照明。一种侧发光型材,表面错层的基础层,包括第一板体,第一板体的左表面凸出有第一卡槽,第一板体的右表面凸出有第二卡槽,第一卡槽与第二卡槽错层设置;第一卡槽和第二卡槽用于插入墙板;第一卡槽和第二卡槽分别设置基础层的错层位置;第一板体的右表面凸出有第三卡槽,第三卡槽的开口朝向平行于墙板,第三卡槽内设有LED灯条。


