授权公布号:CN213268732U
一种侧发光踢脚线
有效
申请
2020-07-20
申请公布
1970-01-01
授权
2021-05-25
预估到期
2030-07-20
| 申请号 | CN202021434978.6 |
| 申请日 | 2020-07-20 |
| 授权公布号 | CN213268732U |
| 授权公告日 | 2021-05-25 |
| 分类号 | E04F19/04;F21V33/00 |
| 分类 | 建筑物; |
| 申请人名称 | 浙江丽尚建材科技有限公司 |
| 申请人地址 | 浙江省嘉兴市海盐县武原街道武原工业园金星区一星路3号 |
专利法律状态
2021-05-25
授权
状态信息
授权
摘要
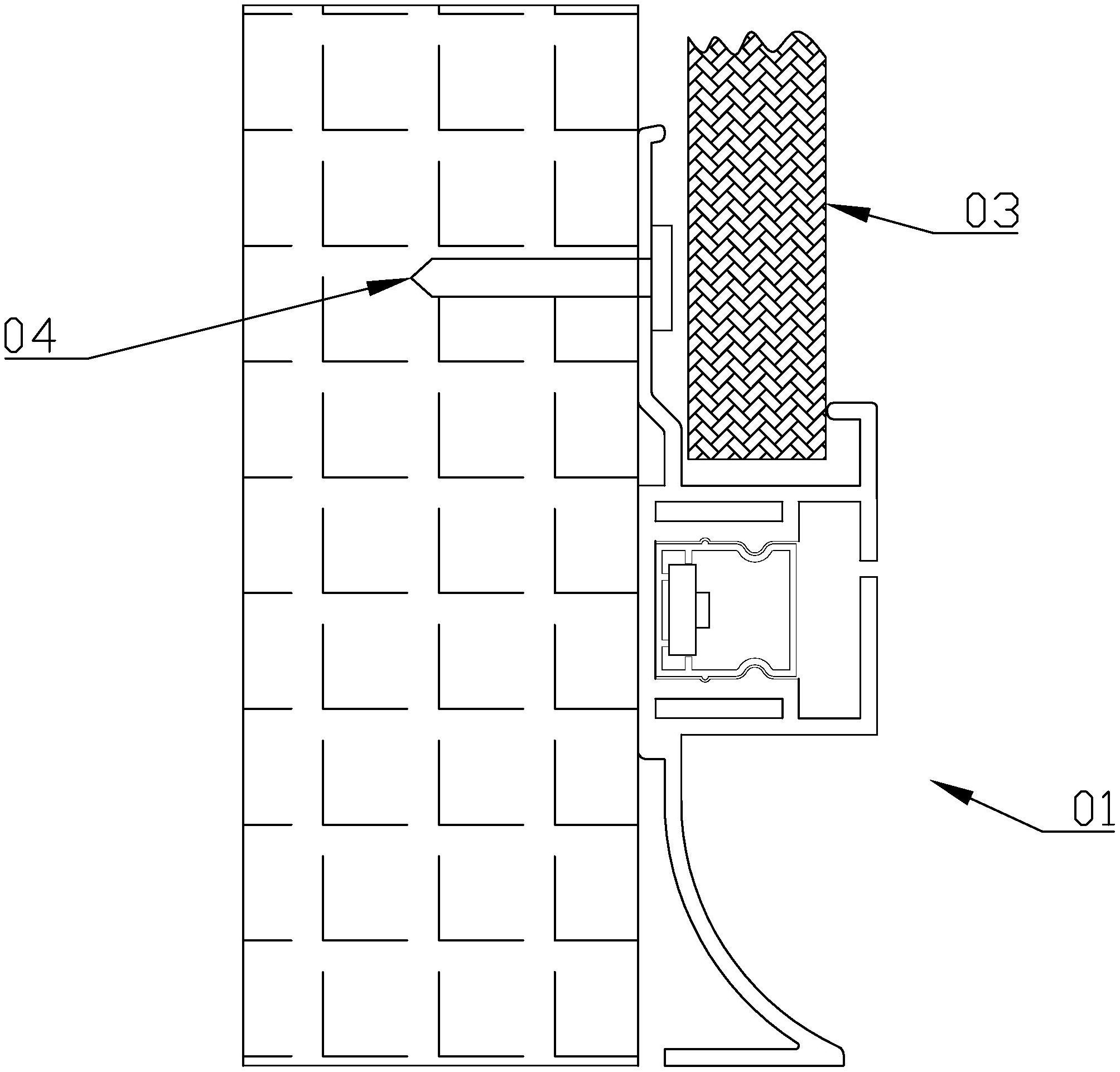
本实用新型公开一种侧发光踢脚线,其能够保护墙面,还能向侧面发光,光线明显。一种侧发光踢脚线,包括本体,本体包括内部封闭两端贯通的矩形安装槽,矩形安装槽的右壁上开设有出光缝;矩形安装槽的顶壁上表面向上延伸出两块相对的第一板体,两块第一板体之间用于插入墙板,其中一块第一板体向上延伸出固定板,固定板用于枪钉穿过固定在墙体上;矩形安装槽的顶壁和底壁之间插入遮光管;遮光管整个透光,遮光管的左壁上设有LED灯条,LED灯条竖直设置,LED灯条上的灯珠朝向出光缝。


