授权公布号:CN217345892U
快速上下料的木工数控雕刻机
有效
申请
2022-04-01
申请公布
1970-01-01
授权
2022-09-02
预估到期
2032-04-01
| 申请号 | CN202220782525.5 |
| 申请日 | 2022-04-01 |
| 授权公布号 | CN217345892U |
| 授权公告日 | 2022-09-02 |
| 分类号 | B27C5/02;B27C5/06;B27G3/00;B44B1/00;B44B1/06;B44B3/00;B44B3/06 |
| 分类 | 木材或类似材料的加工或保存;一般钉钉机或钉U形钉机; |
| 申请人名称 | 浙江今顶集成吊顶有限公司 |
| 申请人地址 | 浙江省嘉兴市永乐路北侧、梅中路东侧 |
专利法律状态
2023-09-15
专利实施许可合同备案的生效、变更及注销
状态信息
专利实施许可合同备案的生效;IPC(主分类):B27C5/02;专利申请号:2022207825255;专利号:ZL2022207825255;合同备案号:X2023330000562;让与人:浙江今顶集成吊顶有限公司;受让人:嘉兴市今顶电器科技有限公司;实用新型名称:快速上下料的木工数控雕刻机;申请日:20220401;授权公告日:20220902;许可种类:普通许可;备案日期:20230828
2022-09-02
授权
状态信息
授权
摘要
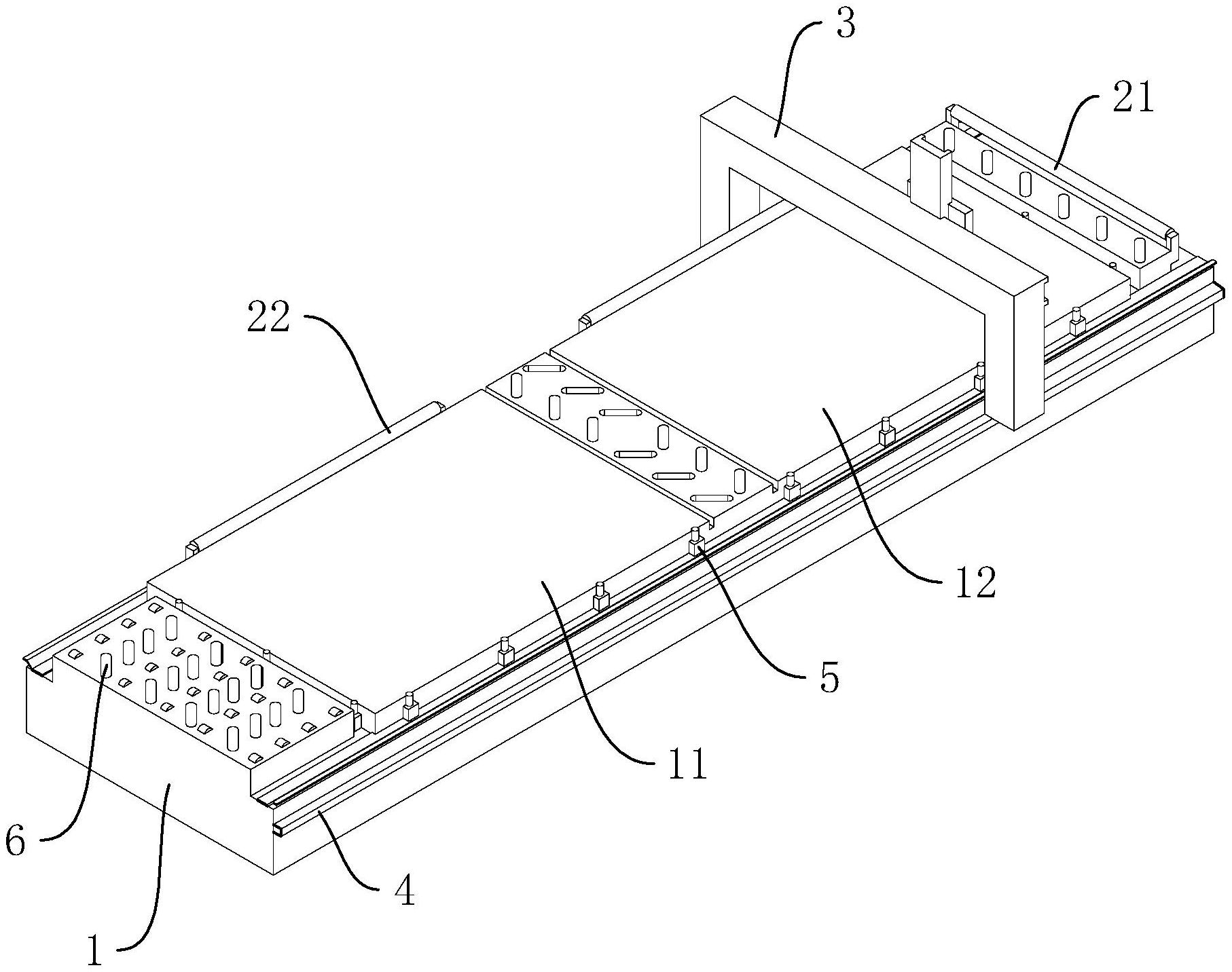
本实用新型公开了一种快速上下料的木工数控雕刻机,包括工作台、行走机架和设置在行走机架上的铣刀,行走机架与工作台的横向滑移连接,所述工作台横向的两侧设置为上料侧,工作台纵向的一侧设置为下料侧,所述工作台的上料侧设置有上料支撑辊,上料支撑辊的沿纵向布置,所述工作台的下料侧设置有下料支撑辊,下料支撑辊沿横向布置,所述上料支撑辊和下料支撑辊的顶端均高于工作台的顶面,本实用新型在工作台的边缘设置有上料支撑辊和下料支撑辊,在上下料时,可以将木料整体支撑,仅需要一名工人即可快速操作,提高效率,节约人工。


