授权公布号:CN209544541U
一种具备抗冲击性能的镍氢电池组件
有效
申请
2019-01-23
申请公布
1970-01-01
授权
2019-10-25
预估到期
2029-01-23
| 申请号 | CN201920115126.1 |
| 申请日 | 2019-01-23 |
| 授权公布号 | CN209544541U |
| 授权公告日 | 2019-10-25 |
| 分类号 | H01M10/30;H01M10/28 |
| 分类 | 基本电气元件; |
| 申请人名称 | 深圳市大别山新能源有限公司 |
| 申请人地址 | 广东省深圳市龙华新区大浪办事处大浪社区下岭排新工业区9号1-4层 |
专利法律状态
2019-10-25
授权
状态信息
授权
摘要
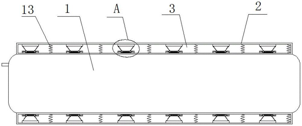
本实用新型公开了一种具备抗冲击性能的镍氢电池组件,包括电池组件本体,所述电池组件本体的顶部和底部均固定安装有抗压垫,抗压垫上开设有空腔,空腔的顶部内壁上固定安装有多个第一连接板,空腔的底部内壁上固定安装有多个第二连接板,且多个第二连接板与多个第一连接板一一对应设置,第二连接板靠近电池组件本体的一侧开设有凹槽,凹槽的两侧均固定安装有同一个支撑杆,凹槽内滑动安装有两个支撑块,且支撑块活动套设在对应的支撑杆上,位于同一个凹槽内的两个支撑块之间固定安装有同一个第一弹簧。本实用新型设计合理,结构简单,操作方便,通过第一弹簧、第二弹簧和第三弹簧的弹性形变,对冲击力进行吸收。


