授权公布号:CN111224170B
一种镍氢电池装配设备
有效
申请
2019-12-12
申请公布
2020-06-02
授权
2020-11-06
预估到期
2039-12-12
| 申请号 | CN201911274990.7 |
| 申请日 | 2019-12-12 |
| 申请公布号 | CN111224170A |
| 申请公布日 | 2020-06-02 |
| 授权公布号 | CN111224170B |
| 授权公告日 | 2020-11-06 |
| 分类号 | H01M10/28 |
| 分类 | 基本电气元件; |
| 申请人名称 | 深圳市大别山新能源有限公司 |
| 申请人地址 | 广东省深圳市龙华新区大浪办事处大浪社区下岭排新工业区9号1-4层 |
专利法律状态
2020-11-06
授权
状态信息
授权
2020-06-26
实质审查的生效
状态信息
实质审查的生效
2020-06-02
公布
状态信息
公布
摘要
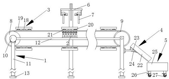
本发明公开了一种镍氢电池装配设备,包括传送机构、支撑机构、固定机构和工作机构,所述传送机构的连板的顶端连接有支撑机构,所述传送机构的外周的两组传送带的外周粘接有多组固定机构,所述传送机构的右侧连接有接料机构,且传送机构的右侧设置有收料机构,所述传送机构的另一侧设置有工作机构,且工作机构的置物板的底端连接有两组通风机构,所述传送机构包括传送轮、传送带和旋转电机,两组所述传送轮通过外周的两组传送带传动连接,且两组传送带关于传送轮对称设置,传送轮的两侧均设置有带有轴承座的竖板。该镍氢电池装配设备,不仅能够自动化的输送,还能进行鼓风和支撑。


