授权公布号:CN212182427U
液冷镍氢电池组
有效
申请
2020-06-24
申请公布
1970-01-01
授权
2020-12-18
预估到期
2030-06-24
| 申请号 | CN202021184743.6 |
| 申请日 | 2020-06-24 |
| 授权公布号 | CN212182427U |
| 授权公告日 | 2020-12-18 |
| 分类号 | H01M2/10;H01M10/613;H01M10/6567;H01M10/30 |
| 分类 | 基本电气元件; |
| 申请人名称 | 深圳市大别山新能源有限公司 |
| 申请人地址 | 广东省深圳市龙华新区大浪办事处大浪社区下岭排新工业区9号1-4层 |
专利法律状态
2020-12-18
授权
状态信息
授权
摘要
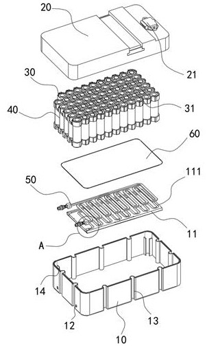
本实用新型公开了一种液冷镍氢电池组,包括盒体、盖体、支架、多个镍氢电池单体和水冷套件,盖体盖设于盒体上构成一个腔体,盖体一端嵌设有充电端口,多个镍氢电池单体矩阵安装于支架上,镍氢电池固定于腔体内部,充电端口和镍氢电池单体电性连接,支架开设有矩阵排列通风孔,盒体底部设有固定板,固定板上开设有弯曲延伸的容置槽,盒体侧壁开设有两个通孔;水冷套件包括水冷管和两个端头,水冷管容置于容置槽内,水冷管与支架底部接触,两个端头分别通过两个通孔沿盒体内部穿出。本实用新型提供一种液冷镍氢电池组,通过支架上的通风孔可以将中部的热量快速释放出来;再通过支架底部的水冷套件进行水冷散热,以达到快速散热降温的目的。


