授权公布号:CN208254090U
一种用于镍氢电池负极合金回收的干燥装置
有效
申请
2018-01-16
申请公布
1970-01-01
授权
2018-12-18
预估到期
2028-01-16
| 申请号 | CN201820069801.7 |
| 申请日 | 2018-01-16 |
| 授权公布号 | CN208254090U |
| 授权公告日 | 2018-12-18 |
| 分类号 | F26B9/06;F26B21/00;F26B25/00;F26B21/08 |
| 分类 | 干燥; |
| 申请人名称 | 深圳市大别山新能源有限公司 |
| 申请人地址 | 广东省深圳市龙华新区大浪办事处大浪社区下岭排新工业区9号1-4层 |
专利法律状态
2018-12-18
授权
状态信息
授权
摘要
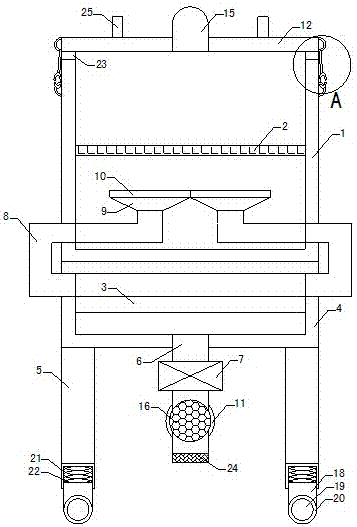
本实用新型涉及电池回收附属装置的技术领域,特别是涉及一种用于镍氢电池负极合金回收的干燥装置,其可以减少负极合金夹带的水分滴落在加热装置表面,减少对加热装置的损坏,提高使用可靠性;并且其可以加快加热装置对工作箱内空气的加热速度,提高负极合金干燥速度;包括工作箱、隔板和加热装置;还包括加热箱、四组支撑柱、进气管、风机、左出气管和右出气管,左出气管和右出气管输出端述分别设置有左出气斗和右出气斗,左出气斗和右出气斗顶部分别设置有左吸水棉和右吸水棉;还包括吸潮装置、箱盖、四组上固定环、四组下固定环、四组固定绳和传输软管,吸潮装置内填充有氯化钙颗粒,四组固定绳底端分别设置有四组固定钩。


