授权公布号:CN218668159U
具有保护膜的顶墙用蜂窝板
有效
申请
2022-09-02
申请公布
1970-01-01
授权
2023-03-21
预估到期
2032-09-02
| 申请号 | CN202222337795.8 |
| 申请日 | 2022-09-02 |
| 授权公布号 | CN218668159U |
| 授权公告日 | 2023-03-21 |
| 分类号 | E04C2/284;E04C2/30;E04C2/36 |
| 分类 | 建筑物; |
| 申请人名称 | 浙江美赫集成家居股份有限公司 |
| 申请人地址 | 浙江省嘉兴市海盐县浙江百步经济开发区仙坛庙路1号(百步高速出口南300米) |
专利法律状态
2023-03-21
授权
状态信息
授权
摘要
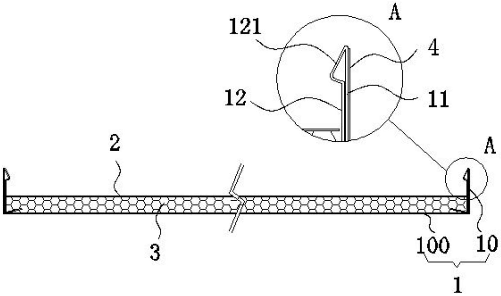
本实用新型提出了一种具有保护膜的顶墙用蜂窝板,包括双折边面板、底板、蜂窝芯和保护膜,所述蜂窝芯设置于底板与双折边面板相扣合形成的腔室内,所述双折边面板包括面板,以及对称设置于面板两侧向上弯折的双层折边,所述双层折边包括由面板的两侧向上弯折成形的外折边,以及由外折边的顶部向下对折成形的内折边,所述面板和外折边的外表面覆盖有保护膜,内折边的外表面未覆盖保护膜。通过在双折边面板的表面覆盖保护膜,既保护了成品本身,又不影响成品性能。双折边面板覆保护膜时不到边,保证内折边铝材可直接通过胶水与蜂窝芯粘在一起,避免内折边与蜂窝芯之间隔一层保护膜,无法通过胶水粘合的问题;而且缩小了保护膜的尺寸,节约了成本。


