授权公布号:CN211711881U
一种半自动转运小车
有效
申请
2020-01-10
申请公布
1970-01-01
授权
2020-10-20
预估到期
2030-01-10
| 申请号 | CN202020049635.1 |
| 申请日 | 2020-01-10 |
| 授权公布号 | CN211711881U |
| 授权公告日 | 2020-10-20 |
| 分类号 | B65G35/00 |
| 分类 | 输送;包装;贮存;搬运薄的或细丝状材料; |
| 申请人名称 | 东阿蓝天七色建材有限公司 |
| 申请人地址 | 山东省聊城市东阿县大桥镇驻地 |
专利法律状态
2020-10-20
授权
状态信息
授权
摘要
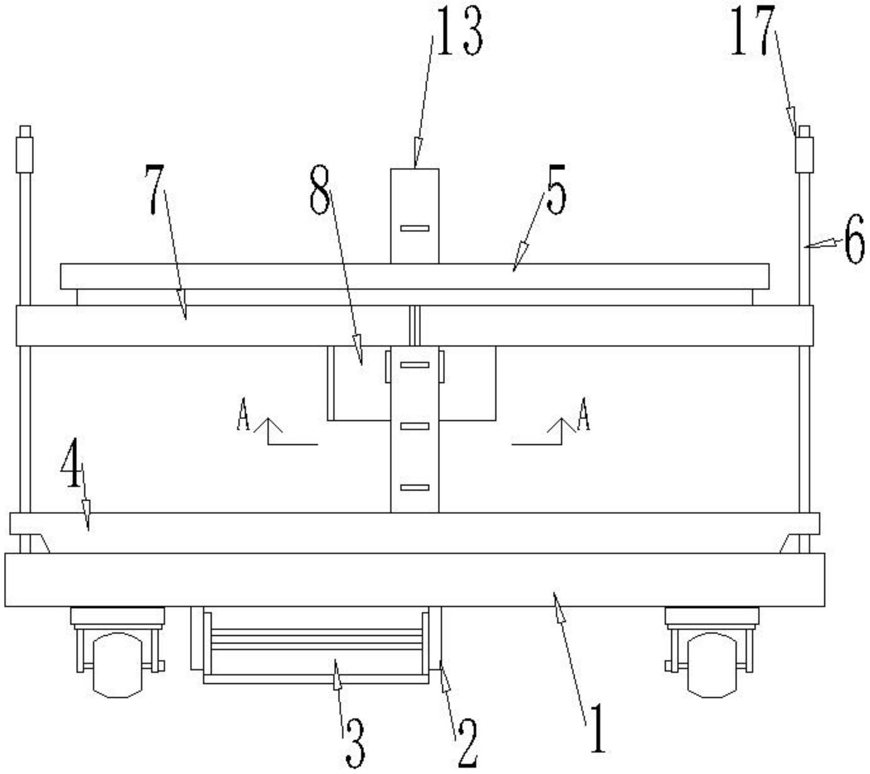
本实用新型公开了一种半自动转运小车,包括转运车、底部架、蓄电池以及背板,所述底部架安置于转运车底部,蓄电池位于底部架内,所述背板嵌装于底部架上,背板上设置有升降结构,所述升降结构上具有托盘;其中,升降结构主要包含:一对导向柱、升降台、驱动盒、驱动机、齿轮以及齿条,本实用新型涉及转运小车技术领域。本技术方案利用基于转运车的升降结构来配合现有的作业平台,实现物料周转,减少员工取放物料的弯腰动作。


