授权公布号:CN207509945U
一种新型铝板覆膜机
有效
申请
2017-11-29
申请公布
1970-01-01
授权
2018-06-19
预估到期
2027-11-29
| 申请号 | CN201721624182.5 |
| 申请日 | 2017-11-29 |
| 授权公布号 | CN207509945U |
| 授权公告日 | 2018-06-19 |
| 分类号 | B32B37/10;B32B37/06;B32B37/08 |
| 分类 | 层状产品; |
| 申请人名称 | 东阿蓝天七色建材有限公司 |
| 申请人地址 | 山东省聊城市东阿县大桥镇驻地 |
专利法律状态
2024-01-12
专利权质押合同登记的生效、变更及注销
状态信息
专利权质押合同登记的生效;IPC(主分类):B32B 37/10;专利号:ZL2017216241825;登记号:Y2023980074331;登记生效日:20231225;出质人:东阿蓝天七色建材有限公司;质权人:山东东阿农村商业银行股份有限公司;实用新型名称:一种新型铝板覆膜机;申请日:20171129;授权公告日:20180619
2018-06-19
授权
状态信息
授权
摘要
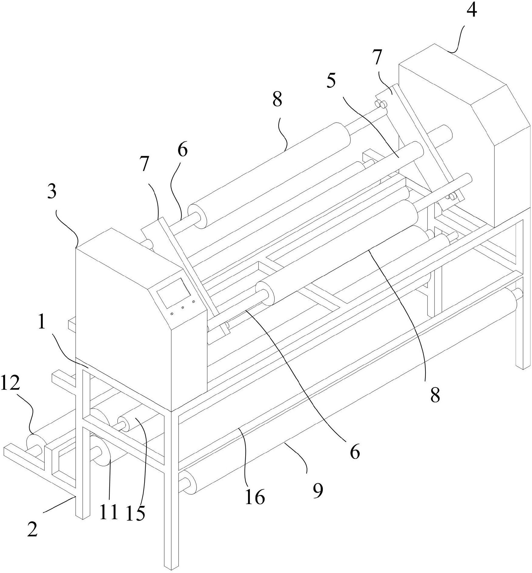
本实用新型属于铝板生产设备领域,尤其涉及一种新型铝板覆膜机。包括上支撑架和下支撑架,上支撑架上设置有放膜装置,包括设置在上支撑架一端的配电箱以及设置在上支撑架另一端的电机箱,配电箱和控制箱之间设置有放膜机构,放膜机构包括设置在配电箱和电机箱之间的转轴以及设置在转轴两侧的转动杆,转动杆上设置有膜卷;下支撑架上设置有覆膜装置,包括设置在下支撑架前侧的进板辊以及设置在下支撑架后侧的覆膜辊,覆膜辊下方设置有托辊,托辊下方后侧设置有出板辊。本实用新型结构简单、设计合理,操作便捷,不需对铝板进行油漆喷涂,只需按要求覆上相应的膜纸,即可达到需用要求,铝板外形美观,不仅工艺简单,而且环保无污染。


