授权公布号:CN214844482U
八点均布加载的木工字梁试验装置
有效
申请
2021-07-14
申请公布
1970-01-01
授权
2021-11-23
预估到期
2031-07-14
| 申请号 | CN202121597559.9 |
| 申请日 | 2021-07-14 |
| 授权公布号 | CN214844482U |
| 授权公告日 | 2021-11-23 |
| 分类号 | G01N3/08;G01N3/02 |
| 分类 | 测量;测试; |
| 申请人名称 | 山东新港企业集团有限公司 |
| 申请人地址 | 山东省临沂市兰山区义堂镇太和庄村206国道与涑堰路交汇东 |
专利法律状态
2021-11-23
授权
状态信息
授权
摘要
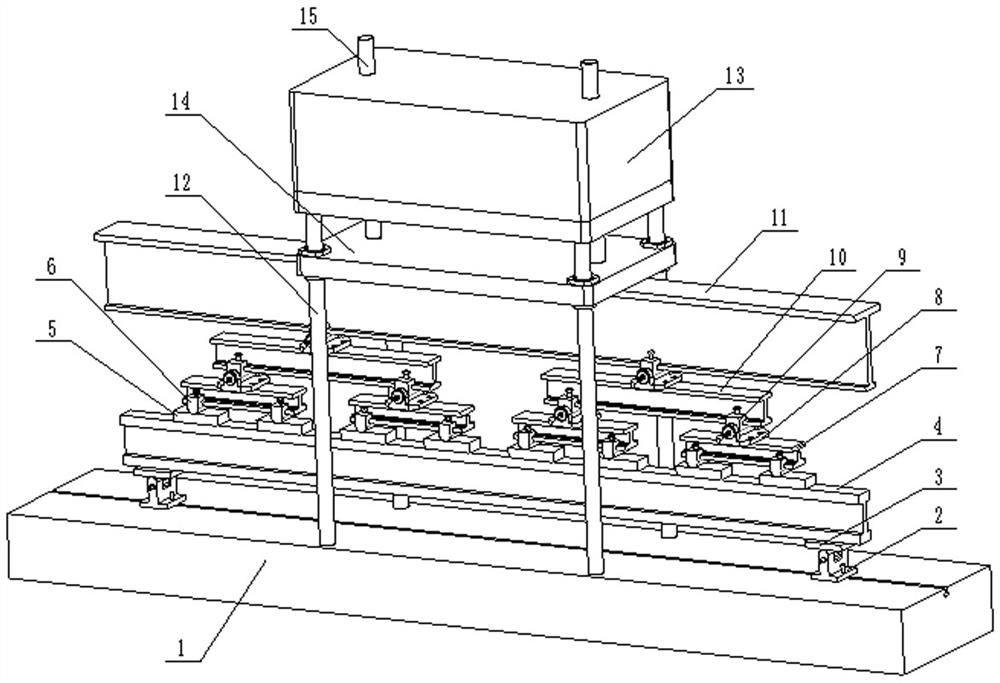
本实用新型公开了一种八点均布加载的木工字梁试验装置,其属于板材加工领域。它主要包括底座,底座上设有支撑座,底座上方通过支架设有加压装置,加压装置包括动力机构、上梁、中间梁和下梁,动力机构与上梁连接,上梁通过转轴装置与中间梁铰接,中间梁通过转轴装置与下梁铰接,下梁上设有加荷辊。本实用新型通过增设转轴装置,使得木工字梁在检测过程中,可以规避因梁体变形而导致的受力不均问题,从而实现梁体抗弯承载力矩和承压承载力的准确测量。本实用新型主要用于木工字梁试验。


