授权公布号:CN218111099U
一种木质纤维板生产用蒸煮装置
有效
申请
2022-07-29
申请公布
1970-01-01
授权
2022-12-23
预估到期
2032-07-29
| 申请号 | CN202221985116.1 |
| 申请日 | 2022-07-29 |
| 授权公布号 | CN218111099U |
| 授权公告日 | 2022-12-23 |
| 分类号 | B27K5/00 |
| 分类 | 木材或类似材料的加工或保存;一般钉钉机或钉U形钉机; |
| 申请人名称 | 湖北宝源木业有限公司 |
| 申请人地址 | 湖北省荆门市东宝区子陵镇子陵街18号 |
专利法律状态
2022-12-23
授权
状态信息
授权
摘要
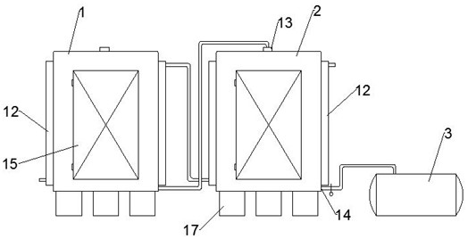
一种木质纤维板生产用蒸煮装置,它包括依次设置的第一木材蒸罐、第二木材蒸罐以及蒸汽锅炉;所述第一木材蒸罐和第二木材蒸罐的结构相同,均包括蒸煮罐体和设置在蒸煮罐体外壁的热水保温夹套,所述蒸煮罐体的顶部设有蒸汽出口,蒸煮罐体的一侧底部设有蒸汽进口,蒸煮罐体的侧壁上还设有可开式密封门,所述蒸煮罐体的内部自上而下依次设有多个筛网蒸板,所述热水保温夹套的上部和下部分别设有热水出口和热水进口。本实用新型的优点是:蒸煮效率高,使用起来方便快捷。通过热水保温夹套和高温蒸汽共同作用,将蒸煮罐体内部温度保持在高温高湿,这样就使得木材的蒸煮效率显著增加。


