授权公布号:CN214925286U
一种OSB板刨片干燥喷混料系统
有效
申请
2021-06-02
申请公布
1970-01-01
授权
2021-11-30
预估到期
2031-06-02
| 申请号 | CN202121217976.6 |
| 申请日 | 2021-06-02 |
| 授权公布号 | CN214925286U |
| 授权公告日 | 2021-11-30 |
| 分类号 | B27L11/02;F26B15/18;B05C5/00 |
| 分类 | 木材或类似材料的加工或保存;一般钉钉机或钉U形钉机; |
| 申请人名称 | 湖北宝源木业有限公司 |
| 申请人地址 | 湖北省荆门市东宝区子陵镇子陵街18号 |
专利法律状态
2021-11-30
授权
状态信息
授权
摘要
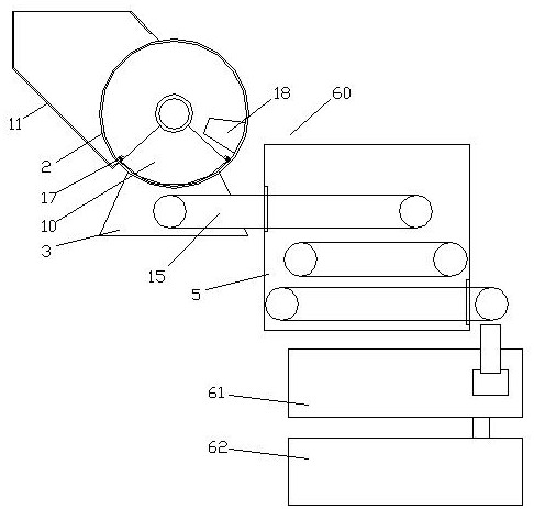
一种OSB板刨片干燥喷混料系统,包括刨片干燥装置(60)、刨片储存仓(61)和刨片喷胶装置(62),刨片干燥装置(60)包括上料筛筒(2)、筛筒座(3)和干燥机(5),刨片喷胶装置(62)包括卧式筒体(21)、喷胶管(22)、搅拌电机(23)和胶桶(24),本实用新型优点是:刨片在负压状况下吸附在上料筛筒上,并通过上料筛筒平铺到链板输送机上在干燥机内进行干燥,整个干燥过程中刨片受热均匀,干燥效率高,刨片不易发生变形;刨片在搅拌过程中通过耙齿和筛筒翻动,底部沉积的刨片还通过喷气管向上吹动,在卧式筒体内分散均匀,能够快速有效的着胶,提高工作效率和喷胶质量。


