授权公布号:CN218796424U
建筑用木质材料回收系统
有效
申请
2022-12-15
申请公布
1970-01-01
授权
2023-04-07
预估到期
2032-12-15
| 申请号 | CN202223368987.1 |
| 申请日 | 2022-12-15 |
| 授权公布号 | CN218796424U |
| 授权公告日 | 2023-04-07 |
| 分类号 | B02C21/00;B02C18/14;B02C18/10;B02C18/16;B02C18/18;B02C18/22;B02C18/24;F26B11/14;F26B23/00;F26B25/02;F26B25/04 |
| 分类 | 破碎、磨粉或粉碎;谷物碾磨的预处理; |
| 申请人名称 | 鸿伟木业(仁化)有限公司 |
| 申请人地址 | 广东省韶关市仁化县工业园内 |
专利法律状态
2023-04-07
授权
状态信息
授权
摘要
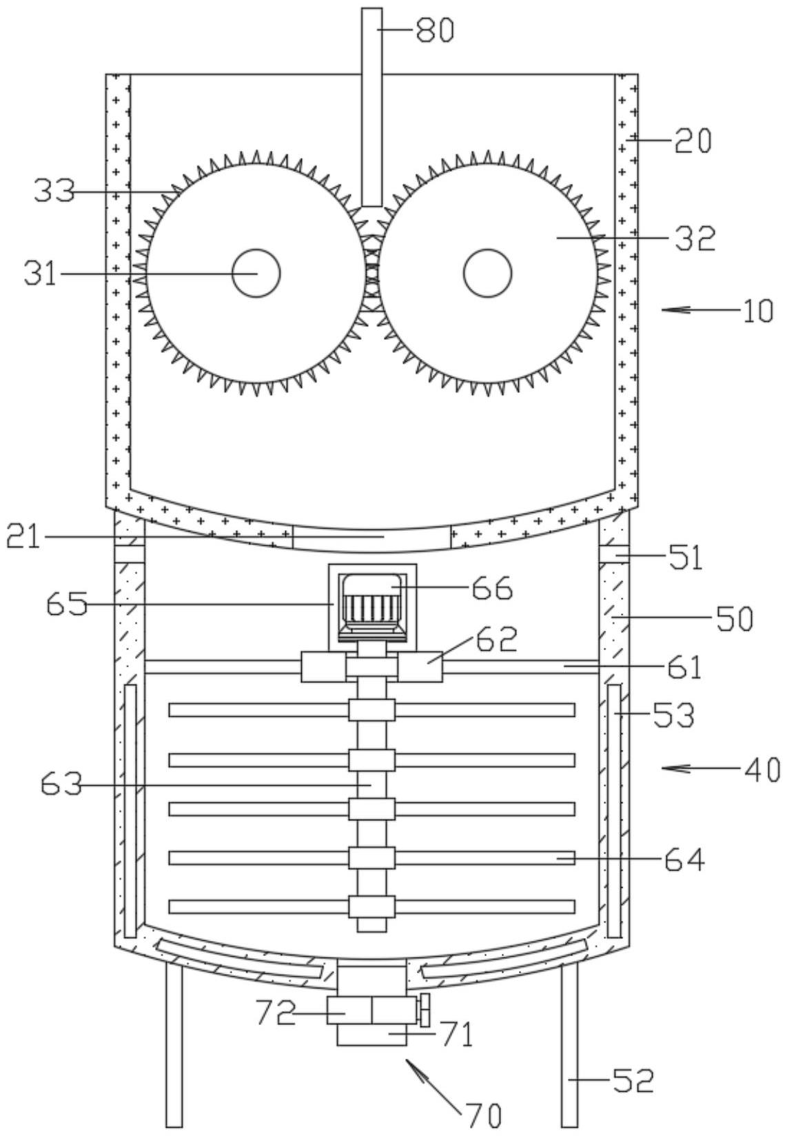
本实用新型公开的属于木质材料回收技术领域,具体为建筑用木质材料回收系统,包括建筑板材,还包括:用于对建筑板材进行破碎的破碎机构,用于对建筑板材进行粉碎烘干的粉碎烘干机构,且粉碎烘干机构上安装破碎机构,所述破碎机构包括:破碎箱,所述破碎箱的底端内壁开设下料孔,用于对建筑板材进行破碎的破碎组件,且破碎组件安装在破碎箱中,所述破碎组件包括:第一转轴,所述破碎箱的两端内壁均通过轴承转动连接第一转轴,滚筒,本实用新型通过设置粉碎烘干机构具有能够实现在对建筑板材进行粉碎的同时,再对粉碎后的建筑板材进行烘干的作用,不仅能使粉碎后的建筑板材均匀受热,还能够提高对建筑的木质材料的回收效率。


