授权公布号:CN218640503U
均质防火刨花板
有效
申请
2022-11-07
申请公布
1970-01-01
授权
2023-03-17
预估到期
2032-11-07
| 申请号 | CN202222974103.0 |
| 申请日 | 2022-11-07 |
| 授权公布号 | CN218640503U |
| 授权公告日 | 2023-03-17 |
| 分类号 | B32B33/00;B32B3/08;B32B9/00;B32B9/04;B32B21/02;B32B21/04;B32B7/08;B32B3/06;B27D1/04 |
| 分类 | 层状产品; |
| 申请人名称 | 鸿伟木业(仁化)有限公司 |
| 申请人地址 | 广东省韶关市仁化县工业园内 |
专利法律状态
2023-03-17
授权
状态信息
授权
摘要
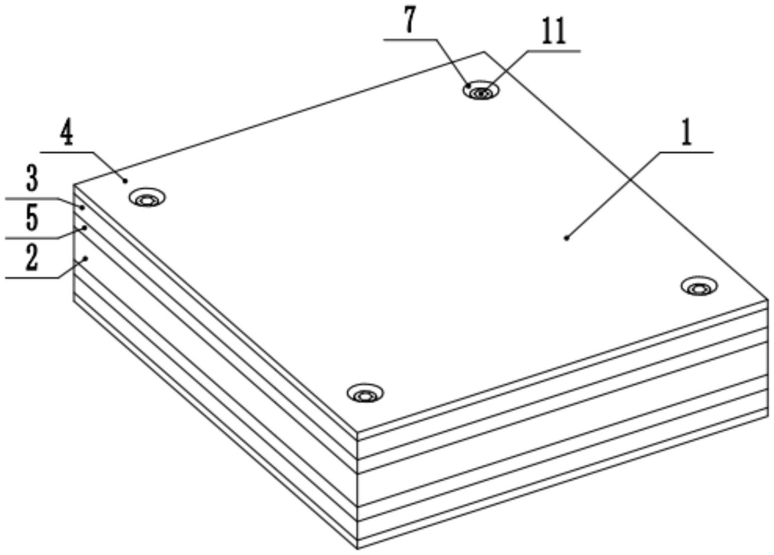
本实用新型涉及刨花板技术领域,具体涉及均质防火刨花板,其技术方案是:包括均质刨花板本体,均质刨花板本体由芯层与两个表面层组成,两个表面层对称设置在芯层上下侧,两个表面层远离芯层的一端均喷涂有防火阻燃涂层,两个所述表面层与芯层之间均设置有隔热组件,两个所述表面层内部均设置有加强组件,所述均质刨花板本体四个拐角处均设置有固定组件,本实用新型的有益效果是:通过在表面层刷擦防火阻燃涂料的方式达到防火效果的同时,还可通过隔热的方式,避免表面层与芯层发生热传递,提高均质刨花板本体的阻燃性能;有效降低均质刨花板本体出现断裂的可能性;使得均质刨花板本体层与层之间连接更稳固。


