授权公布号:CN210256567U
一种高性能定向板材预压机
有效
申请
2019-05-20
申请公布
1970-01-01
授权
2020-04-07
预估到期
2029-05-20
| 申请号 | CN201920722032.0 |
| 申请日 | 2019-05-20 |
| 授权公布号 | CN210256567U |
| 授权公告日 | 2020-04-07 |
| 分类号 | B27D3/02 |
| 分类 | 木材或类似材料的加工或保存;一般钉钉机或钉U形钉机; |
| 申请人名称 | 商丘市鼎丰木业股份有限公司 |
| 申请人地址 | 河南省商丘市睢县产业集聚区 |
专利法律状态
2020-04-07
授权
状态信息
授权
摘要
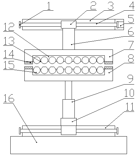
本实用新型涉及一种高性能定向板材预压机,它包括上压板和下压板,所述的上压板和下压板对应设置有凹槽,上压板和下压板的两侧设置有橡胶垫,所述的凹槽内设置有球体,凹槽表层设置有限位板,所述的上压板上端连接有连接杆,所述的连接杆的上端部设置有上固定座,所述的下压板的下端连接有液压伸缩杆,所述的液压伸缩杆的下端部连接有液压缸,所述的液压缸的下方设置为下固定座,所述的下固定座下方设置有底座,所述的上固定座和下固定座的水平方向均设置有丝杆,所述的丝杆上套接有轴件,所述的丝杆的一端部设置有限位板,丝杆的另一端部设置有电机,本实用新型具有结构简单、对板材的压力具有缓冲性能、预压稳定、预压质量高和实用性强的优点。


