授权公布号:CN210186728U
一种环保型板材加工除尘装置
有效
申请
2019-05-20
申请公布
1970-01-01
授权
2020-03-27
预估到期
2029-05-20
| 申请号 | CN201920723200.8 |
| 申请日 | 2019-05-20 |
| 授权公布号 | CN210186728U |
| 授权公告日 | 2020-03-27 |
| 分类号 | B01D50/00;B01D46/02;B01D46/04 |
| 分类 | 一般的物理或化学的方法或装置; |
| 申请人名称 | 商丘市鼎丰木业股份有限公司 |
| 申请人地址 | 河南省商丘市睢县产业集聚区 |
专利法律状态
2020-03-27
授权
状态信息
授权
摘要
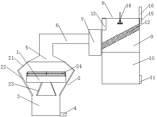
本实用新型涉及一种环保型板材加工除尘装置,它包括工作台,工作台的两侧均设置有输沉板,输沉板的下方共同设置有收集箱,工作台的上方设置有吸尘罩,吸尘罩的上方设置有吸尘管,吸尘管的另一端设置有风机,风机连接有布袋过滤器,布袋过滤器由导流仓和落灰仓组成,导流仓的顶部设置有喷淋头,喷淋头的上方连接有进水管,喷淋头的内部卡接有连接轴,连接轴的下方连接有风扇,喷淋头的底部和侧边均设置有喷淋口,导流仓的内壁上设置有自动脉冲清灰装置,导流仓的内部设置有导流板,导流仓的外部设置有过滤器,过滤器连接有排气口;本实用新型具有收集木屑、除尘效率高、使用寿命长的优点。


