授权公布号:CN210477042U
一种新型板材边条自动连续折断装置
有效
申请
2019-05-20
申请公布
1970-01-01
授权
2020-05-08
预估到期
2029-05-20
| 申请号 | CN201920723209.9 |
| 申请日 | 2019-05-20 |
| 授权公布号 | CN210477042U |
| 授权公告日 | 2020-05-08 |
| 分类号 | B26D1/08;B26D7/06;B26D5/14;B26D7/01 |
| 分类 | 手动切割工具;切割;切断; |
| 申请人名称 | 商丘市鼎丰木业股份有限公司 |
| 申请人地址 | 河南省商丘市睢县产业集聚区 |
专利法律状态
2020-05-08
授权
状态信息
授权
摘要
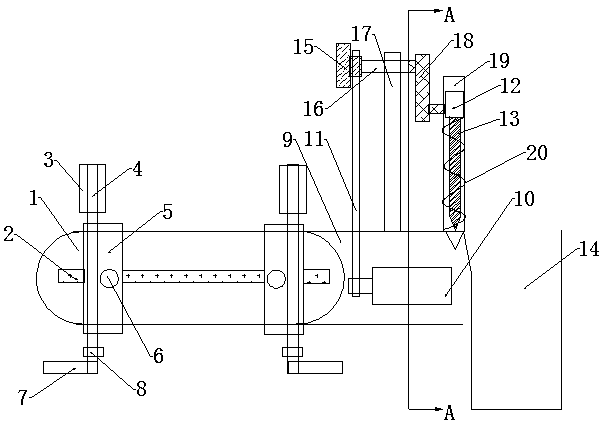
本实用新型涉及一种新型板材边条自动连续折断装置,它包括传送带,传送带的前后两侧均共同设置有固定杆,固定杆上均套接有活动块,活动块的内部均螺纹连接有螺杆,螺杆的上方均设置有挡板,螺杆的下方均设置有绞手,传送带的右端设置有折断台,折断台的前后侧均设置有支撑杆,支撑杆之间设置有固定横杆,固定横杆的中部设置有上传动轴,上传动轴的左侧设置有传动轴,上传动轴的右侧连接有曲柄,曲柄的右侧连接有滑动块,滑动块的下方固定设置有切割刀,滑动块的两端卡接在滑动轴内,滑动轴内设置有弹簧,折断台的前侧设置有电机,电机和传动轴通过传动带连接;本实用新型具有折断精确、使用范围广、结构简单的优点。


