授权公布号:CN220593481U
一种刨花板切削装置
有效
申请
2023-04-25
申请公布
1970-01-01
授权
2024-03-15
预估到期
2033-04-25
| 申请号 | CN202320962005.7 |
| 申请日 | 2023-04-25 |
| 授权公布号 | CN220593481U |
| 授权公告日 | 2024-03-15 |
| 分类号 | B27C5/02;B27C5/04;B27C5/06;B27G3/00 |
| 分类 | 木材或类似材料的加工或保存;一般钉钉机或钉U形钉机; |
| 申请人名称 | 商丘市鼎丰木业股份有限公司 |
| 申请人地址 | 河南省商丘市睢县产业集聚区 |
专利法律状态
2024-03-15
授权
状态信息
授权
摘要
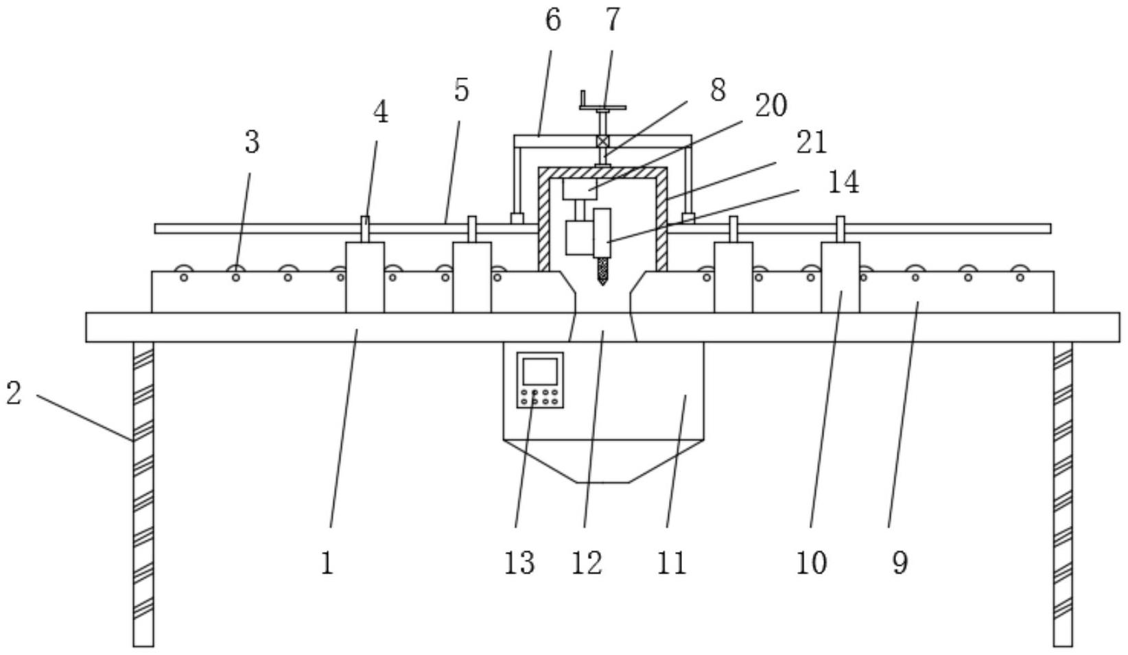
本实用新型提供一种刨花板切削装置,包括工作台,所述工作台顶部表面中间位置安装有安装框,所述安装框顶部表面活动安装有螺杆,所述螺杆表面螺旋连接有调节板,所述调节板表面贯穿开设有螺纹孔,所述调节板底部两端通过连接杆设置有第一压板和第二压板,所述工作台顶部表面竖直安装有安装板,所述安装板表面设置有电动推杆,所述电动推杆输出端设置有限位挡板,所述螺杆顶端安装有手轮,所述第一压板和第二压板端面开设有让位滑道。本实用新型通过设置第一压板、第二压板、螺纹杆、手轮、安装板、电动推杆、限位板的配合使用,便于对不同大小的刨花板切割时,对其进行限位固定,从而保证刨花板在切割时到切割机构的距离一定。


