授权公布号:CN209171641U
一种实木干衣柜
有效
申请
2018-11-07
申请公布
1970-01-01
授权
2019-07-30
预估到期
2028-11-07
| 申请号 | CN201821828101.8 |
| 申请日 | 2018-11-07 |
| 授权公布号 | CN209171641U |
| 授权公告日 | 2019-07-30 |
| 分类号 | A47B61/00;A47B97/00 |
| 分类 | 家具;家庭用的物品或设备;咖啡磨;香料磨;一般吸尘器; |
| 申请人名称 | 丰胜(广州)建材有限公司 |
| 申请人地址 | 广东省广州市花都区梯面镇梯和大道18号 |
专利法律状态
2023-02-28
专利权人的姓名或者名称、地址的变更
状态信息
专利权人的姓名或者名称、地址的变更;IPC(主分类):A47B61/00;变更事项:专利权人;变更前:丰胜(广州)建材有限公司;变更后:丰胜(广州)建材有限公司;变更事项:地址;变更前:510000 广东省广州市天河区珠村大粒沙路2号N栋;变更后:510800 广东省广州市花都区梯面镇梯和大道18号
2019-07-30
授权
状态信息
授权
摘要
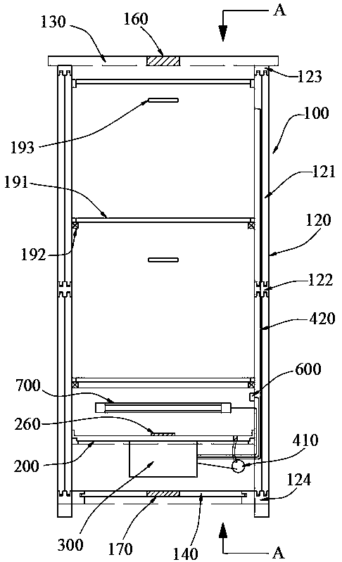
本申请的公开了一种实木干衣柜,包括柜体、能拆卸地设置在所述柜体内的层板,所述层板将所述柜体分隔为相连通的干燥收纳空间和加热空间,所述干燥收纳空间顶部设有挂衣杆,烘干装置位于所述加热空间内且通过所述层板固定安装,所述柜体包括均为炭化木板的背板、一对侧板、顶板、底板、一对柜门,所述顶板上设有出风口,所述底板上设有进风口;所述侧板为双层侧壁板,一对所述柜门为对开门式,所述柜门为双层门板。具有当需要实现干衣功能时,保温、耐热效果好;当需要实现衣物收纳储存功能时,具有较好的微环境调节功能的优点。


