授权公布号:CN216921182U
一种木制地板安装卡扣
有效
申请
2021-11-29
申请公布
1970-01-01
授权
2022-07-08
预估到期
2031-11-29
| 申请号 | CN202122962180.X |
| 申请日 | 2021-11-29 |
| 授权公布号 | CN216921182U |
| 授权公告日 | 2022-07-08 |
| 分类号 | E04F15/04 |
| 分类 | 建筑物; |
| 申请人名称 | 上海帝资实业有限公司 |
| 申请人地址 | 上海市闵行区华友路578号3幢 |
专利法律状态
2022-07-08
授权
状态信息
授权
摘要
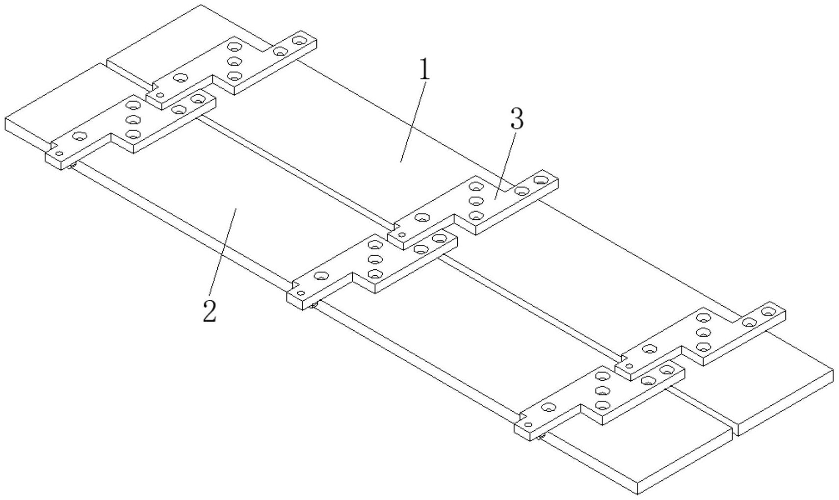
本实用新型公开了一种木制地板安装卡扣,涉及地板卡扣领域,解决了现有的实木地板通过普通金属卡扣进行拼装在长期的使用中易变形、异响、稳定性差的问题,现提出如下方案,其包括地板一、地板二,所述地板一与地板二之间设置有卡扣,所述卡扣的中部设置有中心块,所述中心块的上下两端分别固定连接有的上连接板与下连接板,所述下连接板的下端固定连接有装配块,所述中心块、上连接板、下连接板、装配块的表面均贯穿的开设有螺钉孔,且每个螺钉孔上均开设有倒角孔。本装置在具体的安装中,操作简单、方便,省时、省力,且安全可靠,主要用于阳台实木地板的安装,且安装的稳定性提高,在后期的使用中不容易发生变形以及异响的特点。


