授权公布号:CN116929644B
一种汽车车灯的密封性测试装置
有效
申请
2023-09-18
申请公布
2023-10-24
授权
2023-12-26
预估到期
2043-09-18
| 申请号 | CN202311197130.4 |
| 申请日 | 2023-09-18 |
| 申请公布号 | CN116929644A |
| 申请公布日 | 2023-10-24 |
| 授权公布号 | CN116929644B |
| 授权公告日 | 2023-12-26 |
| 分类号 | G01M3/02;G01M11/00;B25B11/00 |
| 分类 | 测量;测试; |
| 申请人名称 | 常州星宇车灯股份有限公司 |
| 申请人地址 | 江苏省常州市汉江路398号 |
专利法律状态
2023-12-26
授权
状态信息
授权
2023-10-24
公布
状态信息
公布
摘要
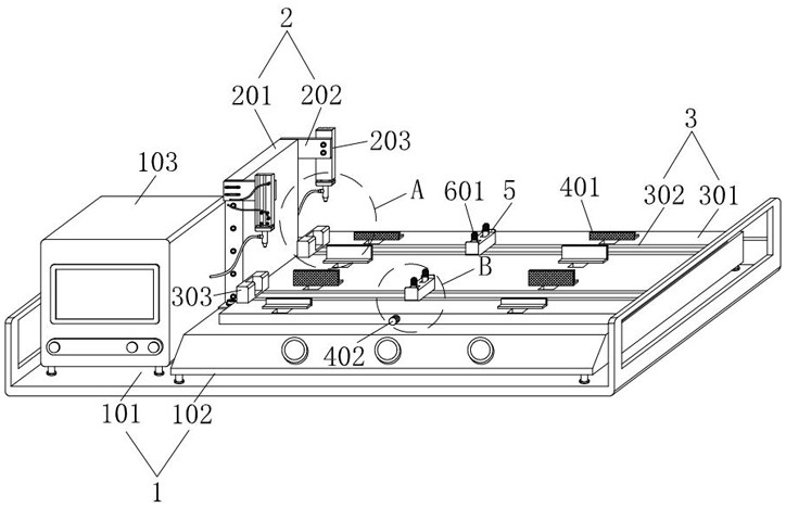
本发明涉及气密性检测仪技术领域,具体的说是一种汽车车灯的密封性测试装置,包括主体机构,所述主体机构上配合安装有检测机构;所述主体机构与安装机构之间配合连接;所述安装机构上滑动有固定机构;所述安装机构与滑块之间配合连接;所述滑块上配合滑动有限位机构;将需要检测的车灯放置在安装机构上,转动固定机构,使其在安装机构内滑动,进而使固定机构对车灯进行夹持,从而有利于提高车灯的固定效果;用手挤压限位机构,可以使其带动滑块在安装机构内滑动,进而可以使滑块在移动过程中对车灯的端部进行抵触;打开主体机构后,使检测机构启动,进而使检测机构对车灯的气密性进行检测,从而便于提高车灯的检测效果。


