授权公布号:CN208256691U
一种太阳能电池组件及包括该太阳能电池组件的自行车
有效
申请
2018-05-04
申请公布
1970-01-01
授权
2018-12-18
预估到期
2028-05-04
| 申请号 | CN201820667170.9 |
| 申请日 | 2018-05-04 |
| 授权公布号 | CN208256691U |
| 授权公告日 | 2018-12-18 |
| 分类号 | H01L31/048;H02S40/34 |
| 分类 | 基本电气元件; |
| 申请人名称 | 中山品上照明有限公司 |
| 申请人地址 | 广东省中山市小榄镇创益路5号 |
专利法律状态
2018-12-18
授权
状态信息
授权
摘要
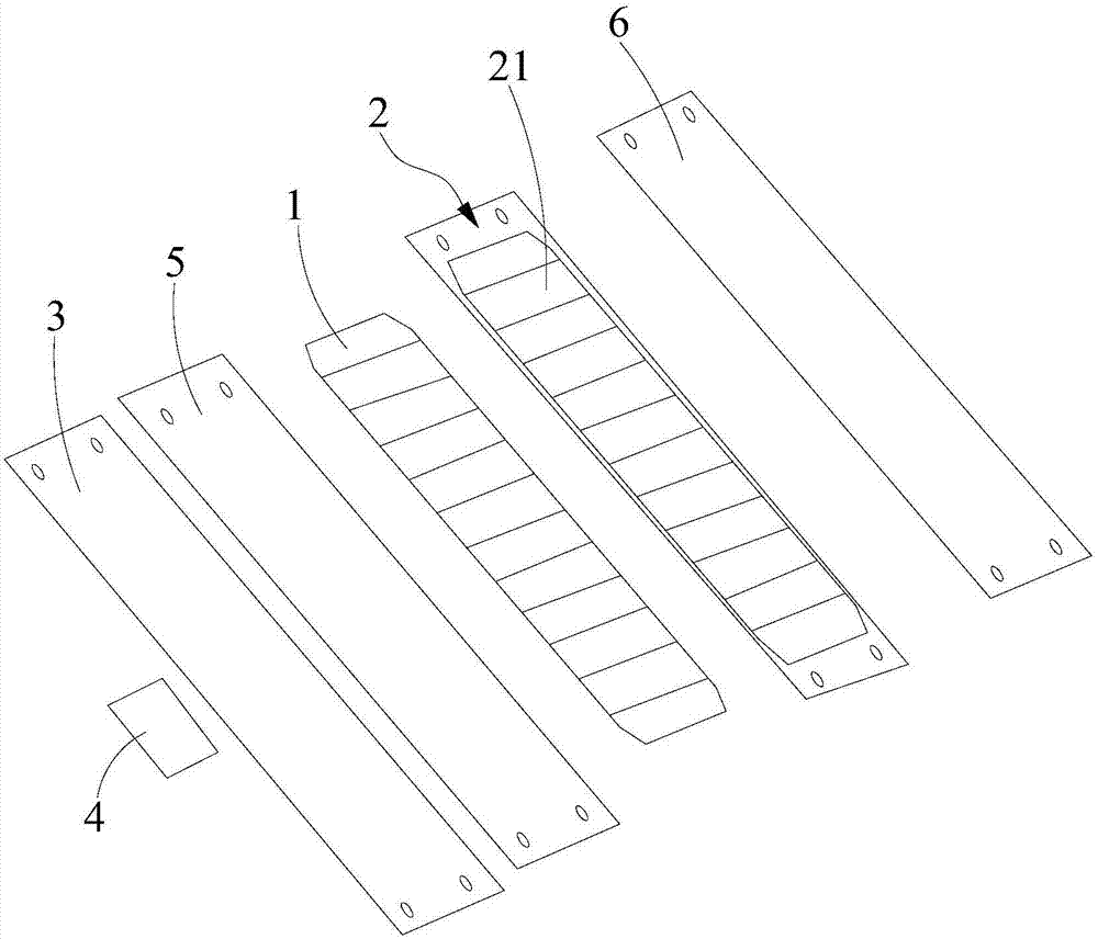
本实用新型公开了一种太阳能电池组件及包括该太阳能电池组件的自行车,包括太阳能电池片、用于安装所述太阳能电池片的安装片、与所述太阳能电池片电连接的印制电路板、设于所述印制电路板上的接线盒、位于所述安装片与所述印制电路板之间的密封片、以及位于所述安装片远离所述印制电路板一侧的透明离型片;所述密封片与所述安装片之间为密封连接,所述透明离型片与所述安装片之间为密封连接。太阳能电池组件最顶层的透明离型片表面经过离型处理,以实现广告纸无法牢固的粘接于透明离型片上,风吹等外力可轻易将广告纸带离透明离型片;也即保证了使用时不会被广告纸粘贴而影响太阳能电池组件的发电效率;可满足共享单车对于太阳能电池组件的使用需求。自行车,包括上述的太阳能电池组件。


