授权公布号:CN111865429B
光电接收器及光电接收器的制作方法
有效
申请
2019-04-30
申请公布
2020-10-30
授权
2022-05-27
预估到期
2039-04-30
| 申请号 | CN201910365784.0 |
| 申请日 | 2019-04-30 |
| 申请公布号 | CN111865429A |
| 申请公布日 | 2020-10-30 |
| 授权公布号 | CN111865429B |
| 授权公告日 | 2022-05-27 |
| 分类号 | H04B10/60;H01L25/16;H01L31/0203 |
| 分类 | 电通信技术; |
| 申请人名称 | 深圳市聚飞光电股份有限公司 |
| 申请人地址 | 广东省深圳市龙岗区平湖街道鹅公岭社区鹅岭工业区4号 |
专利法律状态
2022-05-27
授权
状态信息
授权
2020-10-30
公布
状态信息
公布
摘要
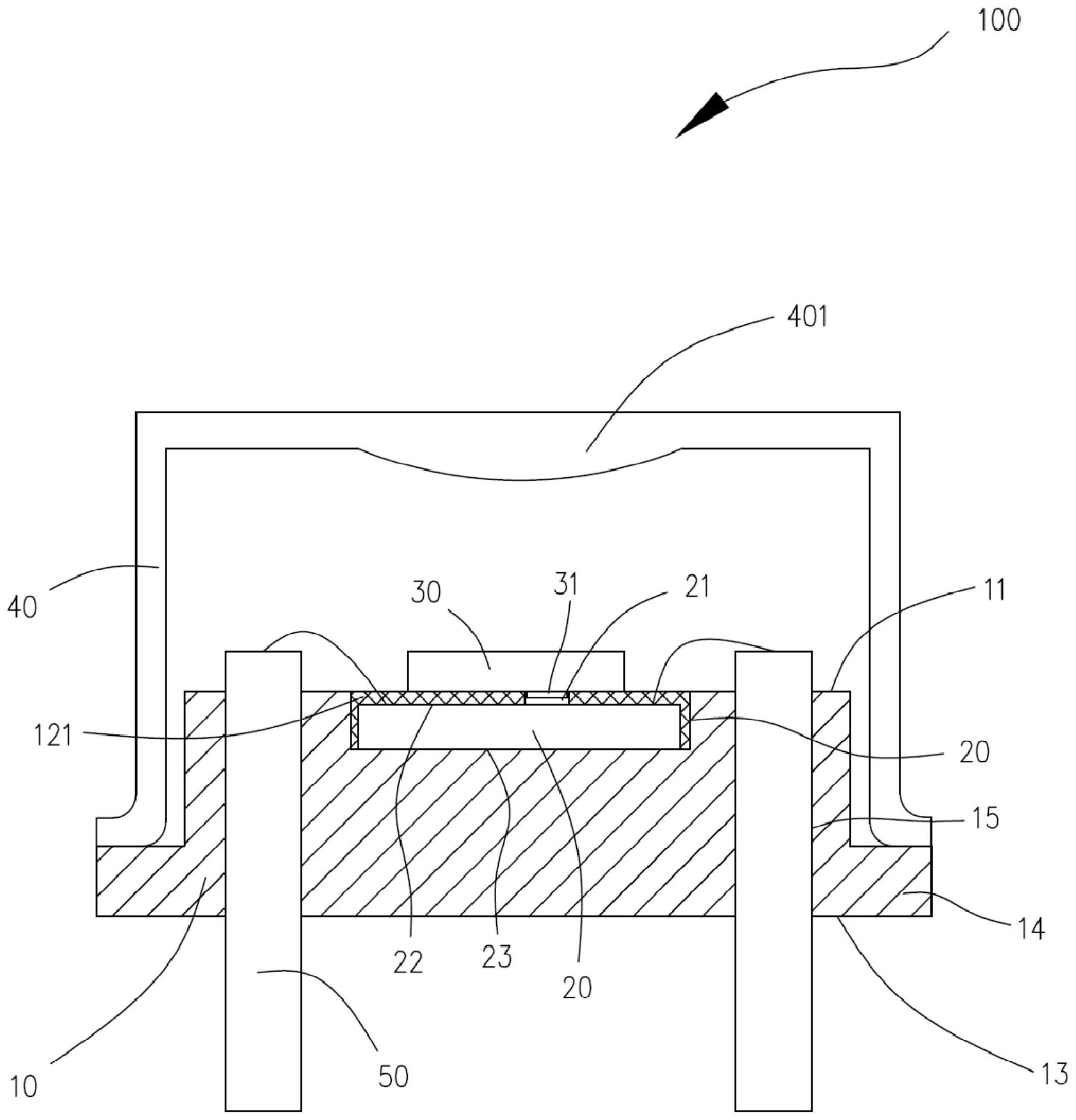
本申请公开了一种光电接收器和光电接收器的制作方法,所述光电接收器包括管座、第一电子元件和第二电子元件,所述管座设有安装端面,所述安装端面设有凹槽,所述第一电子元件收容于所述凹槽内,所述第一电子元件朝向所述凹槽开口一侧设有芯片焊盘,所述凹槽内设有封盖所述第一电子元件的绝缘胶,所述绝缘胶暴露所述芯片焊盘,所述第二电子元件堆叠于所述绝缘胶上,并经所述焊盘电连接所述第一电子元件。所述第二电子元件可堆叠于所述第一电子元件上,有效减小了所述光电接收器整体体积,节省了使用空间。


