授权公布号:CN113079624B
电路板及电子装置
有效
申请
2021-03-29
申请公布
2021-07-06
授权
2022-07-29
预估到期
2041-03-29
| 申请号 | CN202110337273.5 |
| 申请日 | 2021-03-29 |
| 申请公布号 | CN113079624A |
| 申请公布日 | 2021-07-06 |
| 授权公布号 | CN113079624B |
| 授权公告日 | 2022-07-29 |
| 分类号 | H05K1/02 |
| 分类 | 其他类目不包含的电技术; |
| 申请人名称 | 深圳市聚飞光电股份有限公司 |
| 申请人地址 | 广东省深圳市龙岗区平湖街道鹅公岭社区鹅岭工业区4号 |
专利法律状态
2022-07-29
授权
状态信息
授权
2021-07-06
公布
状态信息
公布
摘要
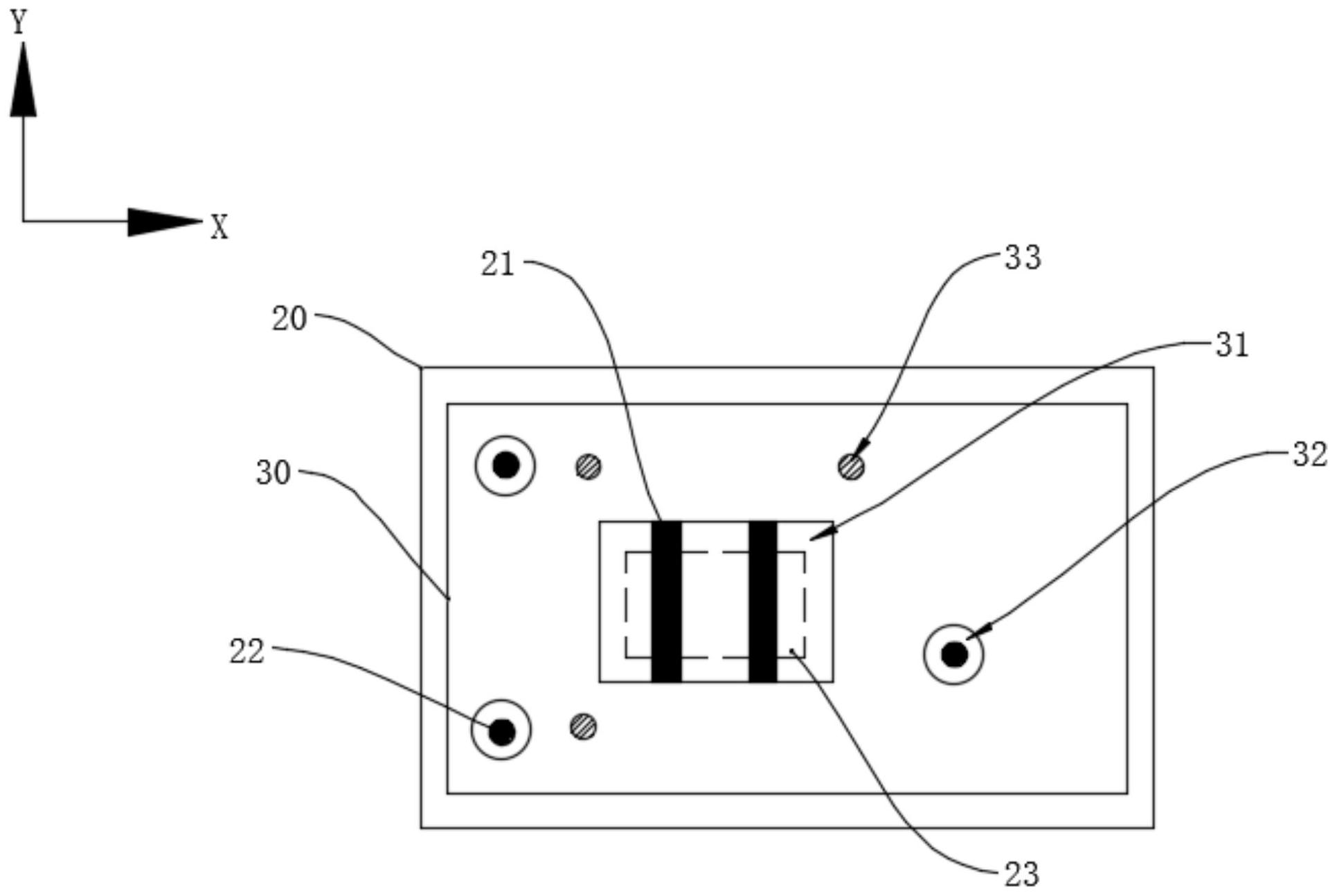
一种电路板及电子装置,电路板包括层叠设置的基板、铜箔层和阻焊油墨层,铜箔层包括两个均沿第一方向延伸且间隔设置的焊盘和多个第一定位结构,阻焊油墨层包括开窗区域、多个镂空区域和多个第二定位结构,多个第二定位结构位于开窗区域的周围并与多个第一定位结构间隔设置,电路板还包括固晶区域;其中,根据多个第一定位结构确定固晶区域在第一方向上的坐标,根据多个第二定位结构确定固晶区域在第二方向上的坐标,第二方向与第一方向垂直。当阻焊油墨层相对铜箔层发生偏移时,可通过第一定位结构和第二定位结构确定固晶区域的位置,以使焊盘处于固晶区域的中心区,实现对电子元器件的精准定位,提高了产品良率。


