授权公布号:CN201944738U
一种带自清洗及散热功能的LED路灯
失效
申请
2010-12-01
申请公布
1970-01-01
授权
2011-08-24
预估到期
2020-12-01
| 申请号 | CN201020642025.9 |
| 申请日 | 2010-12-01 |
| 授权公布号 | CN201944738U |
| 授权公告日 | 2011-08-24 |
| 分类号 | F21S8/08;F21V33/00;B08B3/02;F21W131/103N;F21Y101/02N |
| 分类 | 照明; |
| 申请人名称 | 奥其斯科技股份有限公司 |
| 申请人地址 | 江西省高安市工业区 |
专利法律状态
2019-11-15
专利权的终止
状态信息
未缴年费专利权终止;IPC(主分类):F21S8/08;申请日:20101201;授权公告日:20110824;终止日期:20181201
2017-08-04
专利申请权、专利权的转移
状态信息
专利权的转移;IPC(主分类):F21S8/08;登记生效日:20170714;变更事项:专利权人;变更前:广东奥其斯科技有限公司;变更后:奥其斯科技股份有限公司;变更事项:地址;变更前:523000 广东省东莞市虎门镇怀德村深巷工业区;变更后:330800 江西省高安市工业区
2015-08-12
专利申请权、专利权的转移
状态信息
专利权的转移;IPC(主分类):F21S8/08;变更事项:专利权人;变更前:江西奥其斯科技有限公司;变更后:广东奥其斯科技有限公司;变更事项:地址;变更前:330800 江西省高安市工业区;变更后:523000 广东省东莞市虎门镇怀德村深巷工业区;登记生效日:20150723
2013-11-20
专利申请权、专利权的转移
状态信息
专利权的转移;IPC(主分类):F21S8/08;变更事项:专利权人;变更前:广东奥其斯科技有限公司;变更后:江西奥其斯科技有限公司;变更事项:地址;变更前:523000 广东省东莞市虎门镇怀德村深巷工业区;变更后:330800 江西省高安市工业区;登记生效日:20131028
2011-08-24
授权
状态信息
授权
摘要
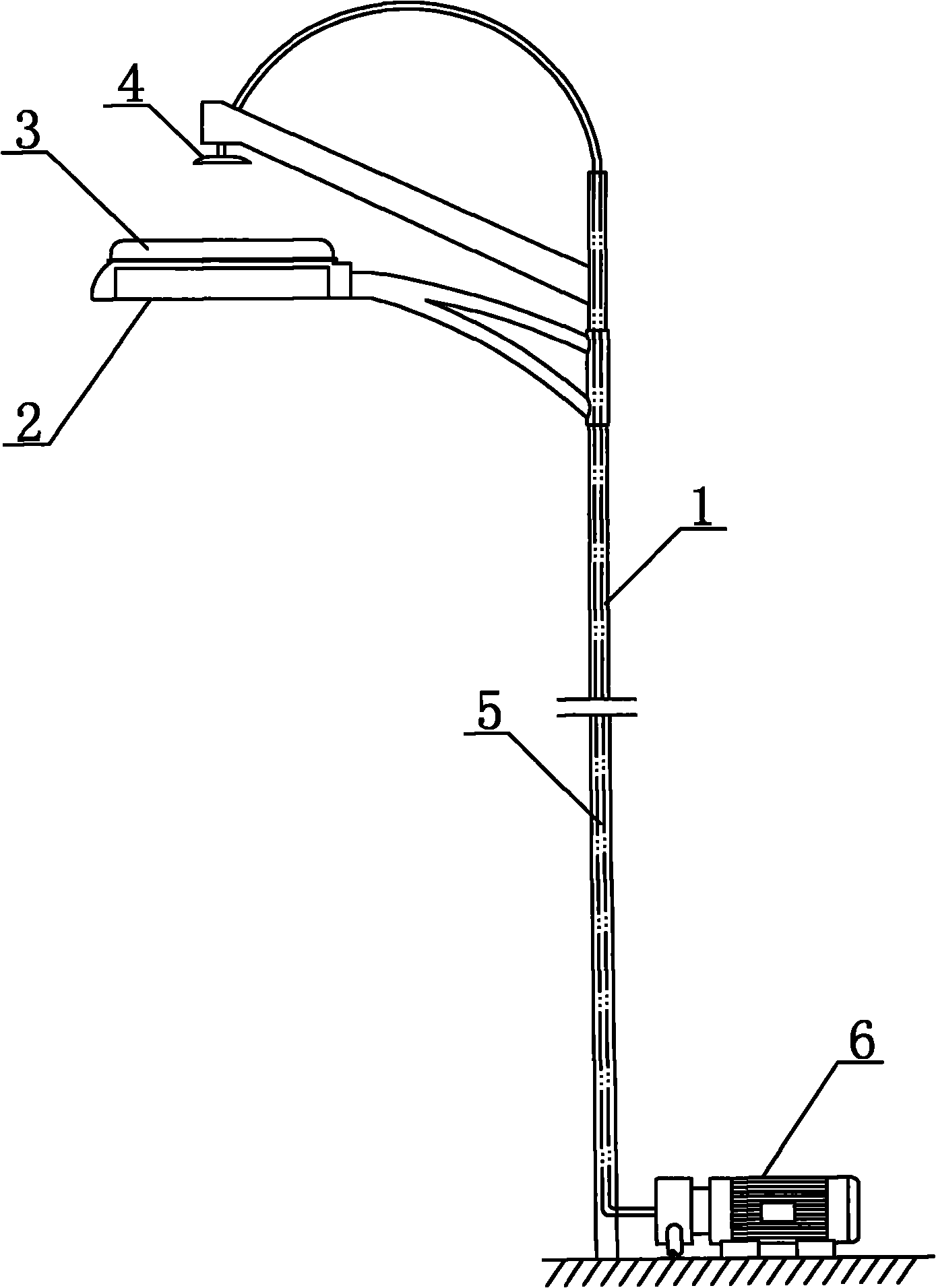
本实用新型公开了一种带自清洗及散热功能的LED路灯,属于LED照明技术领域,其技术要点包括灯柱,在灯柱上方安装有灯体,在灯体上表面设有散热翼片,其中所述的散热翼片上方设有喷水头,喷水头通过供水管延伸至地面并与外部水源连接;喷水头的喷水覆盖面积与散热翼片的覆盖面积基本一致;本实用新型旨在提供一种结构简单、清洗方便的带自清洗及散热功能的LED路灯,用于道路照明。


