授权公布号:CN218599530U
一种投光灯结构
有效
申请
2022-11-29
申请公布
1970-01-01
授权
2023-03-10
预估到期
2032-11-29
| 申请号 | CN202223203563.X |
| 申请日 | 2022-11-29 |
| 授权公布号 | CN218599530U |
| 授权公告日 | 2023-03-10 |
| 分类号 | F21S8/00;F21V29/70;F21V29/74;F21V29/83;F21Y115/10N |
| 分类 | 照明; |
| 申请人名称 | 中山市永安路灯有限公司 |
| 申请人地址 | 广东省中山市横栏镇新茂工业大道西新河桥头前150米处右侧 |
专利法律状态
2023-03-10
授权
状态信息
授权
摘要
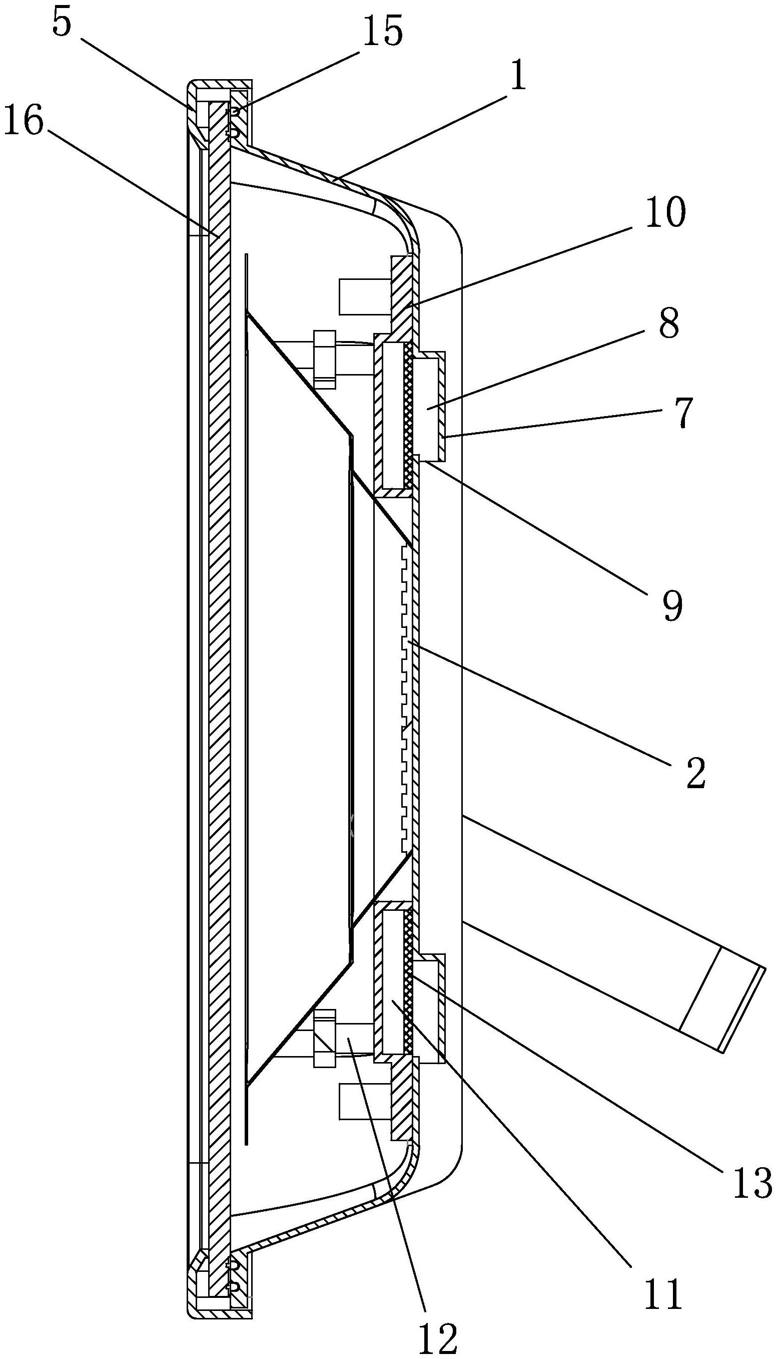
本实用新型公开一种投光灯结构,包括具一侧开口的灯壳,所述灯壳由内侧向开口方向依次设置有LED灯板、反光杯与面板,所述灯壳内侧与所述反光杯外侧之间形成环状散热腔,所述灯壳上位于与其开口的相背离面间隔设有若干散热鳞片。通过灯壳内侧与反光杯外侧之间形成环状散热腔,LED灯板随反光杯设置于环状散热腔内环处,进而以增大LED灯板的散热空间面积,再通过散热鳞片将热量传递至外部,以加强灯壳内腔散热效果。


