授权公布号:CN211969810U
一种负压罐装机
有效
申请
2020-04-22
申请公布
1970-01-01
授权
2020-11-20
预估到期
2030-04-22
| 申请号 | CN202020612168.9 |
| 申请日 | 2020-04-22 |
| 授权公布号 | CN211969810U |
| 授权公告日 | 2020-11-20 |
| 分类号 | B65B3/00 |
| 分类 | 输送;包装;贮存;搬运薄的或细丝状材料; |
| 申请人名称 | 江西半边天药业有限公司 |
| 申请人地址 | 江西省吉安市泰和县泰和经济开发区 |
专利法律状态
2020-11-20
授权
状态信息
授权
摘要
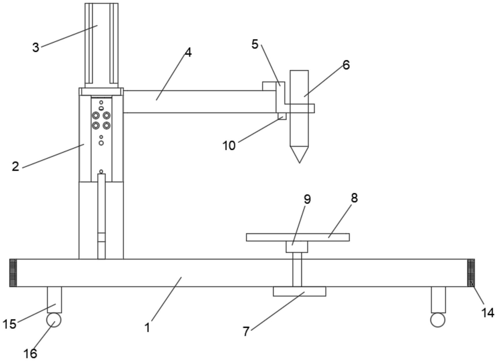
本实用新型公开了一种负压罐装机,包括机座,机座上设置有放置台、罐装机构,机座下端设置有电机,电机的输出轴贯穿该机座侧壁通过连接块与放置台的下端可转动连接,罐装机构位于所述放置台的一侧,罐装机构包括支架、气缸、滑块、固定架、罐装头,罐装头可拆卸设置再固定架上,所述罐装头内通过管道连通有物料,放置台上均匀间隔设置有若干用于放置瓶体的放置槽,放置槽呈圆形分布。本实用新型将待抽气罐装的瓶体置入放置槽内,随着电机的转动从而使放置槽内的瓶体均能起到负压罐装的效果,大大提高了瓶体的负压罐装效率,提高了企业的生产效益。


