授权公布号:CN212663774U
一种水蜜丸碾压装置
有效
申请
2020-04-22
申请公布
1970-01-01
授权
2021-03-09
预估到期
2030-04-22
| 申请号 | CN202020612844.2 |
| 申请日 | 2020-04-22 |
| 授权公布号 | CN212663774U |
| 授权公告日 | 2021-03-09 |
| 分类号 | B02C18/14;B02C18/16;B02C4/02;G01N1/28 |
| 分类 | 破碎、磨粉或粉碎;谷物碾磨的预处理; |
| 申请人名称 | 江西半边天药业有限公司 |
| 申请人地址 | 江西省吉安市泰和县泰和经济开发区 |
专利法律状态
2021-03-09
授权
状态信息
授权
摘要
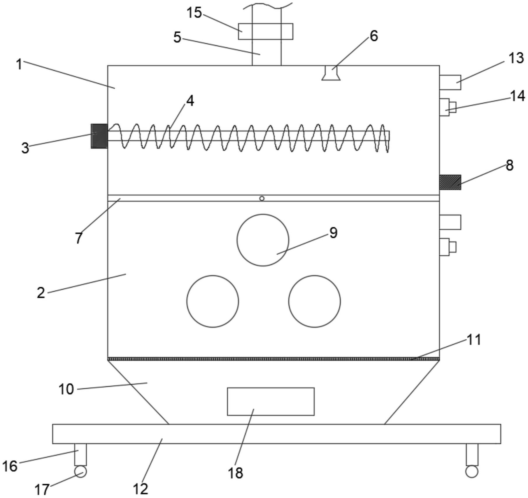
本实用新型公开了一种水蜜丸碾压装置,包括碾压机构,碾压机构从上至下依次包括第一碾压机构、第二碾压机构,第一碾压机构包括粉碎罐、设置在粉碎罐侧壁的第一电机、固定连接在第一电机输出轴上的螺旋刀片,粉碎罐上端设置有进料管、鼓风机,第二碾压机构包括碾压箱、以及设置在碾压箱内的碾压轮,粉碎罐与所述碾压箱的交接处设置有翻转板,粉碎罐的外侧壁设置有第二电机,第二电机与翻转板固定连接带动翻转板转动,碾压箱下端设置有出料仓,出料仓正面设置有箱门。本实用新型的水蜜丸研压装置研压效果好,采用二次粉碎大大提高了水蜜丸的粉碎效率,完美达到所需规格。


