授权公布号:CN209332980U
一种藿香正气液直肠给药设备
有效
申请
2018-06-19
申请公布
1970-01-01
授权
2019-09-03
预估到期
2028-06-19
| 申请号 | CN201820948214.5 |
| 申请日 | 2018-06-19 |
| 授权公布号 | CN209332980U |
| 授权公告日 | 2019-09-03 |
| 分类号 | A61M31/00 |
| 分类 | 医学或兽医学;卫生学; |
| 申请人名称 | 重庆太极实业(集团)股份有限公司 |
| 申请人地址 | 重庆市涪陵区太极大道1号 |
专利法律状态
2019-09-03
授权
状态信息
授权
2018-06-19
公布
状态信息
公布
摘要
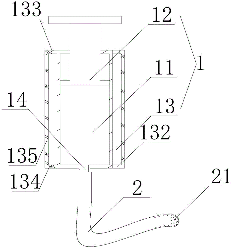
本实用新型公开了一种藿香正气液直肠给药设备,其包括注射筒,以及以可拆卸方式连接在注射筒的给药出口处的直肠给药导管,其中,该注射筒包括用于盛装藿香正气液或药液的给药筒,并在该给药筒的筒壁周围设置有用于盛装加热介质的加热室,从而可通过向该加热室内注入加热介质直接对应给药筒内的药液藿香正气液进行加热,且当其加热到需要的温度后再通过直肠给药导管灌入直肠,从而不需要再额外的加热容器来进行加热,并且在注入药液的过程中,该加热室同时起到保温作用,避免了给药筒内的药液快速冷却的情况。


