授权公布号:CN215208362U
一种食品生产用自动旋盖装置
有效
申请
2020-12-29
申请公布
1970-01-01
授权
2021-12-17
预估到期
2030-12-29
| 申请号 | CN202023237681.3 |
| 申请日 | 2020-12-29 |
| 授权公布号 | CN215208362U |
| 授权公告日 | 2021-12-17 |
| 分类号 | B67B3/20 |
| 分类 | 开启或封闭瓶子、罐或类似的容器;液体的贮运; |
| 申请人名称 | 江西维莱营健高科有限公司 |
| 申请人地址 | 江西省吉安市永丰县城北工业园 |
专利法律状态
2021-12-17
授权
状态信息
授权
摘要
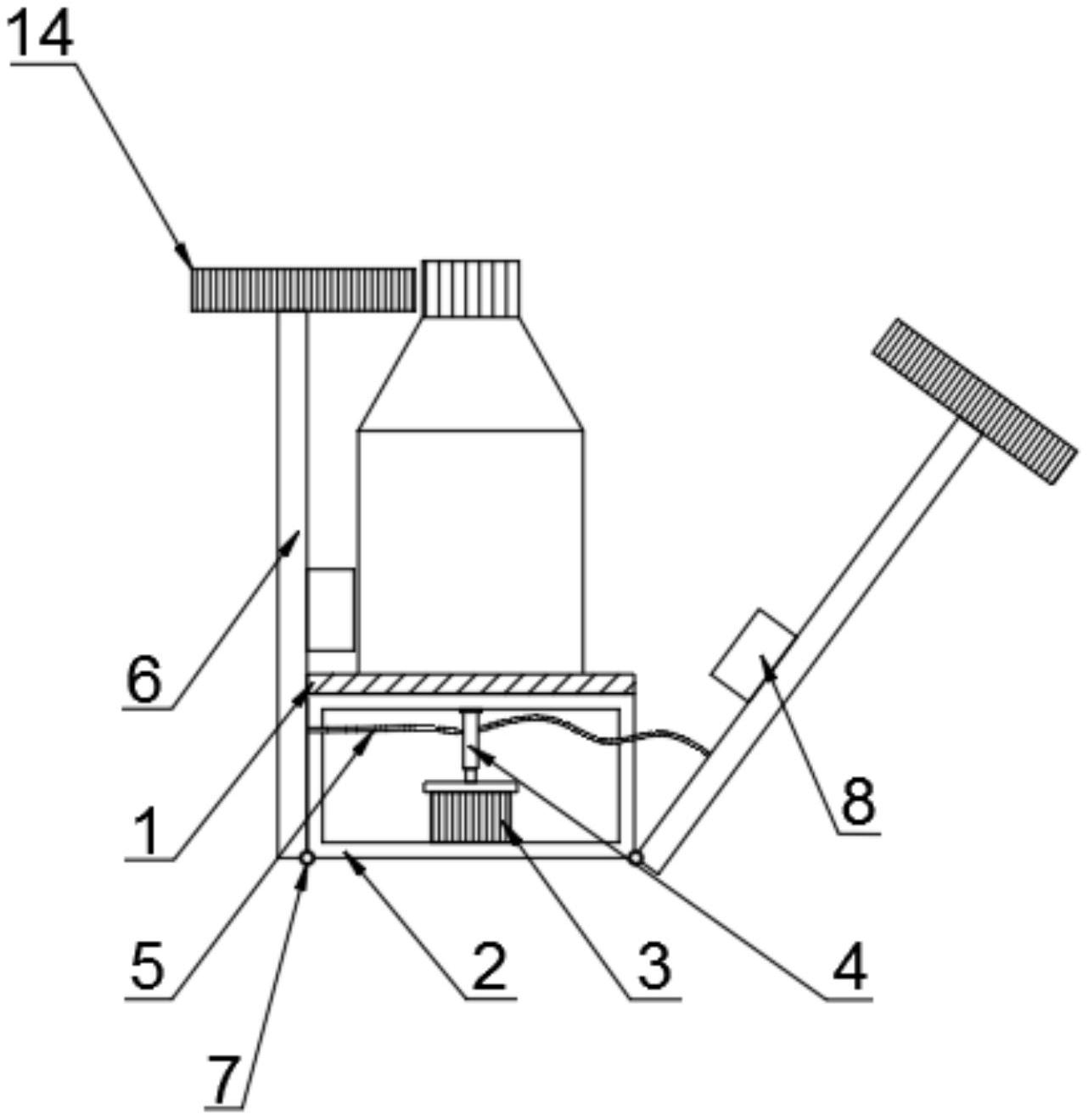
本实用新型涉及一种食品生产用自动旋盖装置,包括输送带和承载架,所述承载架的内壁底部固定连接有第一驱动电机,所述第一驱动电机输出轴的侧壁套设有套杆,所述套杆的一端与承载架的内壁上方转动连接,所述套杆的侧壁两端均固定连接有拉绳,所述承载架的侧壁开设有通孔,所述拉绳穿设于通孔,且拉绳远离转轴的一端固定连接有支撑杆,所述支撑杆的上端固定连接有支架。该种食品生产用自动旋盖装置涉及食品加工技术领域,相比传统的旋盖装置,由于抛去了原有工作模式,精简了复杂的旋盖机头,由齿轮配合传动齿轮带完成旋盖工作,使得机器的制造成本降低。


